Amazon изобрела «подушку безопасности» для посылок, доставляемых дронами - «Новости сети»
АЭС — это долго: в Казахстане построят «долину ЦОД» с питанием от угольных электростанций - «Новости сети»
АЭС — это долго: в Казахстане построят «долину ЦОД» с питанием от угольных электростанций - «Новости сети»
«Да здравствует Принц!»: в ответ на отмену ремейка GOG спасёт классическую Prince of Persia: The Sands of Time от цифрового небытия - «Новости сети»
«Да здравствует Принц!»: в ответ на отмену ремейка GOG спасёт классическую Prince of Persia: The Sands of Time от цифрового небытия - «Новости сети»
«Google Фото» научились превращать фотографии пользователей в мемы с помощью ИИ - «Новости сети»
«Google Фото» научились превращать фотографии пользователей в мемы с помощью ИИ - «Новости сети»
Проблемное январское обновление Windows 11 отказывается удаляться — два способа вернуть систему в норму - «Новости сети»
Проблемное январское обновление Windows 11 отказывается удаляться — два способа вернуть систему в норму - «Новости сети»
В Китае придумали, как обмануть Вселенную и занедорого зажечь «искусственное солнце» на Земле - «Новости сети»
В Китае придумали, как обмануть Вселенную и занедорого зажечь «искусственное солнце» на Земле - «Новости сети»
Россияне оспорили отказ суда рассматривать иск о блокировке звонков в Telegram и WhatsApp - «Новости сети»
Россияне оспорили отказ суда рассматривать иск о блокировке звонков в Telegram и WhatsApp - «Новости сети»
Sony анонсировала первый за семь лет проигрыватели виниловых пластинок - «Новости сети»
Sony анонсировала первый за семь лет проигрыватели виниловых пластинок - «Новости сети»
Intel упускает миллиарды из-за дефицита процессоров и производственных проблем — акции рухнули на 11 % - «Новости сети»
Intel упускает миллиарды из-за дефицита процессоров и производственных проблем — акции рухнули на 11 % - «Новости сети»
Илон Маск пообещал, что роботы Tesla Optimus точно-точно поступят в продажу в конце 2027 года - «Новости сети»
Илон Маск пообещал, что роботы Tesla Optimus точно-точно поступят в продажу в конце 2027 года - «Новости сети»
Луна подождёт: третий пуск ракеты Blue Origin New Glenn в конце февраля доставит спутник главного конкурента Starlink - «Новости сети»
Луна подождёт: третий пуск ракеты Blue Origin New Glenn в конце февраля доставит спутник главного конкурента Starlink - «Новости сети»
Новости мира Интернет » Новости » Новости мира Интернет » Amazon изобрела «подушку безопасности» для посылок, доставляемых дронами - «Новости сети»


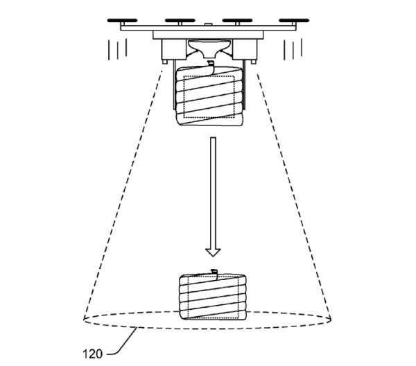
Как известно, компания Amazon активно прорабатывает идею доставки небольших посылок по воздуху посредством беспилотных летательных аппаратов (БПЛА). Очередной патент в этой области зарегистрировало на днях Управление США по патентам и торговым маркам (USPTO).


При помощи дронов предлагается отправлять товары, приобретённые пользователями Интернета. Утверждается, что беспилотники позволят существенно ускорить доставку покупок, что особенно актуально в крупных городах с высокой загруженностью дорог.


Новый патент получил название «Airlift package protection airbag». Речь в нём идёт о своеобразной «подушке безопасности» для посылок, доставляемых посредством беспилотников.


Дело в том, что Amazon предлагает не опускать товары на Землю, а сбрасывать их с борта дрона, парящего в воздухе. Такой подход теоретически позволит экономить заряд аккумуляторов, поскольку БПЛА не придётся совершать посадку и взлёт.


Сброс посылки в зависимости от её массы, размеров и содержимого может производиться с высоты от 1,5 до 7,5 метра. Подушка безопасности перед отрывом упаковки от дрона будет заполняться воздухом из баллона или от бортового нагнетателя. Это смягчит удар, что позволит доставить товар заказчику без повреждений.


Отмечается, что выбор точки сброса будет осуществляться на основе анализа изображения от камер — это обеспечит необходимую безопасность.

Как известно, компания Amazon активно прорабатывает идею доставки небольших посылок по воздуху посредством беспилотных летательных аппаратов (БПЛА). Очередной патент в этой области зарегистрировало на днях Управление США по патентам и торговым маркам (USPTO). При помощи дронов предлагается отправлять товары, приобретённые пользователями Интернета. Утверждается, что беспилотники позволят существенно ускорить доставку покупок, что особенно актуально в крупных городах с высокой загруженностью дорог. Новый патент получил название «Airlift package protection airbag». Речь в нём идёт о своеобразной «подушке безопасности» для посылок, доставляемых посредством беспилотников. Дело в том, что Amazon предлагает не опускать товары на Землю, а сбрасывать их с борта дрона, парящего в воздухе. Такой подход теоретически позволит экономить заряд аккумуляторов, поскольку БПЛА не придётся совершать посадку и взлёт. Сброс посылки в зависимости от её массы, размеров и содержимого может производиться с высоты от 1,5 до 7,5 метра. Подушка безопасности перед отрывом упаковки от дрона будет заполняться воздухом из баллона или от бортового нагнетателя. Это смягчит удар, что позволит доставить товар заказчику без повреждений. Отмечается, что выбор точки сброса будет осуществляться на основе анализа изображения от камер — это обеспечит необходимую безопасность.
Цитирование статьи, картинки - фото скриншот - Rambler News Service.
Иллюстрация к статье - Яндекс. Картинки.
Есть вопросы. Напишите нам.
Общие правила  поведения на сайте.

запостил(а)
Blare
Вернуться назад
0

Смотрите также

А что там на главной? )))



Комментарии )))