Amazon научит беспилотники подчиняться жестовым командам - «Новости сети»
АЭС — это долго: в Казахстане построят «долину ЦОД» с питанием от угольных электростанций - «Новости сети»
АЭС — это долго: в Казахстане построят «долину ЦОД» с питанием от угольных электростанций - «Новости сети»
«Да здравствует Принц!»: в ответ на отмену ремейка GOG спасёт классическую Prince of Persia: The Sands of Time от цифрового небытия - «Новости сети»
«Да здравствует Принц!»: в ответ на отмену ремейка GOG спасёт классическую Prince of Persia: The Sands of Time от цифрового небытия - «Новости сети»
«Google Фото» научились превращать фотографии пользователей в мемы с помощью ИИ - «Новости сети»
«Google Фото» научились превращать фотографии пользователей в мемы с помощью ИИ - «Новости сети»
Проблемное январское обновление Windows 11 отказывается удаляться — два способа вернуть систему в норму - «Новости сети»
Проблемное январское обновление Windows 11 отказывается удаляться — два способа вернуть систему в норму - «Новости сети»
В Китае придумали, как обмануть Вселенную и занедорого зажечь «искусственное солнце» на Земле - «Новости сети»
В Китае придумали, как обмануть Вселенную и занедорого зажечь «искусственное солнце» на Земле - «Новости сети»
Россияне оспорили отказ суда рассматривать иск о блокировке звонков в Telegram и WhatsApp - «Новости сети»
Россияне оспорили отказ суда рассматривать иск о блокировке звонков в Telegram и WhatsApp - «Новости сети»
Sony анонсировала первый за семь лет проигрыватели виниловых пластинок - «Новости сети»
Sony анонсировала первый за семь лет проигрыватели виниловых пластинок - «Новости сети»
Intel упускает миллиарды из-за дефицита процессоров и производственных проблем — акции рухнули на 11 % - «Новости сети»
Intel упускает миллиарды из-за дефицита процессоров и производственных проблем — акции рухнули на 11 % - «Новости сети»
Илон Маск пообещал, что роботы Tesla Optimus точно-точно поступят в продажу в конце 2027 года - «Новости сети»
Илон Маск пообещал, что роботы Tesla Optimus точно-точно поступят в продажу в конце 2027 года - «Новости сети»
Луна подождёт: третий пуск ракеты Blue Origin New Glenn в конце февраля доставит спутник главного конкурента Starlink - «Новости сети»
Луна подождёт: третий пуск ракеты Blue Origin New Glenn в конце февраля доставит спутник главного конкурента Starlink - «Новости сети»
Новости мира Интернет » Новости » Новости мира Интернет » Amazon научит беспилотники подчиняться жестовым командам - «Новости сети»


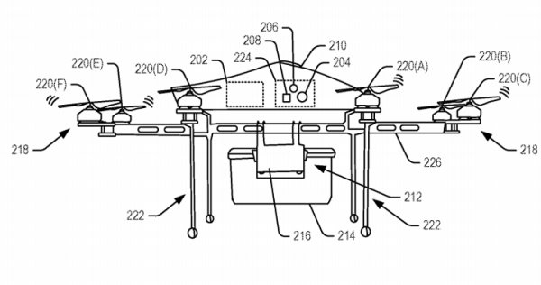
Недавно мы рассказывали, что компания Amazon изобрела «подушку безопасности» для посылок, доставляемых дронами. Теперь Управление США по патентам и торговым маркам (USPTO) выдало Amazon патент на другую разработку в области беспилотных летательных аппаратов (БПЛА).


Документ под названием «Взаимодействие человека с беспилотником» (Human interaction with unmanned aerial vehicles) зарегистрирован 20 марта нынешнего года. Однако заявка на изобретение была подана ещё летом 2016-го.


Идея заключается в реализации системы жестового управления. Предполагается, что человек сможет отдавать определённые команды дрону при помощи взмахов рук. Для регистрации таких жестов будут использовать камеры и датчики, установленные на борту беспилотника.


По задумке Amazon, жестовые команды могут быть задействованы для того, чтобы указать дрону-посыльному место посадки. Кроме того, подобная система может оказаться полезной в некоторых других ситуациях, скажем, в случае отказа традиционного управления.


Впрочем, пока компания Amazon лишь запатентовала технологию. О планах по её практической реализации ничего не сообщается.

Недавно мы рассказывали, что компания Amazon изобрела «подушку безопасности» для посылок, доставляемых дронами. Теперь Управление США по патентам и торговым маркам (USPTO) выдало Amazon патент на другую разработку в области беспилотных летательных аппаратов (БПЛА). Документ под названием «Взаимодействие человека с беспилотником» (Human interaction with unmanned aerial vehicles) зарегистрирован 20 марта нынешнего года. Однако заявка на изобретение была подана ещё летом 2016-го. Идея заключается в реализации системы жестового управления. Предполагается, что человек сможет отдавать определённые команды дрону при помощи взмахов рук. Для регистрации таких жестов будут использовать камеры и датчики, установленные на борту беспилотника. По задумке Amazon, жестовые команды могут быть задействованы для того, чтобы указать дрону-посыльному место посадки. Кроме того, подобная система может оказаться полезной в некоторых других ситуациях, скажем, в случае отказа традиционного управления. Впрочем, пока компания Amazon лишь запатентовала технологию. О планах по её практической реализации ничего не сообщается.
Цитирование статьи, картинки - фото скриншот - Rambler News Service.
Иллюстрация к статье - Яндекс. Картинки.
Есть вопросы. Напишите нам.
Общие правила  поведения на сайте.

Смотрите также

А что там на главной? )))



Комментарии )))