В Google придумали ноутбук с саморегулируемым углом наклона экрана - «Новости сети»
АЭС — это долго: в Казахстане построят «долину ЦОД» с питанием от угольных электростанций - «Новости сети»
АЭС — это долго: в Казахстане построят «долину ЦОД» с питанием от угольных электростанций - «Новости сети»
«Да здравствует Принц!»: в ответ на отмену ремейка GOG спасёт классическую Prince of Persia: The Sands of Time от цифрового небытия - «Новости сети»
«Да здравствует Принц!»: в ответ на отмену ремейка GOG спасёт классическую Prince of Persia: The Sands of Time от цифрового небытия - «Новости сети»
«Google Фото» научились превращать фотографии пользователей в мемы с помощью ИИ - «Новости сети»
«Google Фото» научились превращать фотографии пользователей в мемы с помощью ИИ - «Новости сети»
Проблемное январское обновление Windows 11 отказывается удаляться — два способа вернуть систему в норму - «Новости сети»
Проблемное январское обновление Windows 11 отказывается удаляться — два способа вернуть систему в норму - «Новости сети»
В Китае придумали, как обмануть Вселенную и занедорого зажечь «искусственное солнце» на Земле - «Новости сети»
В Китае придумали, как обмануть Вселенную и занедорого зажечь «искусственное солнце» на Земле - «Новости сети»
Россияне оспорили отказ суда рассматривать иск о блокировке звонков в Telegram и WhatsApp - «Новости сети»
Россияне оспорили отказ суда рассматривать иск о блокировке звонков в Telegram и WhatsApp - «Новости сети»
Sony анонсировала первый за семь лет проигрыватели виниловых пластинок - «Новости сети»
Sony анонсировала первый за семь лет проигрыватели виниловых пластинок - «Новости сети»
Intel упускает миллиарды из-за дефицита процессоров и производственных проблем — акции рухнули на 11 % - «Новости сети»
Intel упускает миллиарды из-за дефицита процессоров и производственных проблем — акции рухнули на 11 % - «Новости сети»
Илон Маск пообещал, что роботы Tesla Optimus точно-точно поступят в продажу в конце 2027 года - «Новости сети»
Илон Маск пообещал, что роботы Tesla Optimus точно-точно поступят в продажу в конце 2027 года - «Новости сети»
Луна подождёт: третий пуск ракеты Blue Origin New Glenn в конце февраля доставит спутник главного конкурента Starlink - «Новости сети»
Луна подождёт: третий пуск ракеты Blue Origin New Glenn в конце февраля доставит спутник главного конкурента Starlink - «Новости сети»
Новости мира Интернет » Новости » Новости мира Интернет » В Google придумали ноутбук с саморегулируемым углом наклона экрана - «Новости сети»


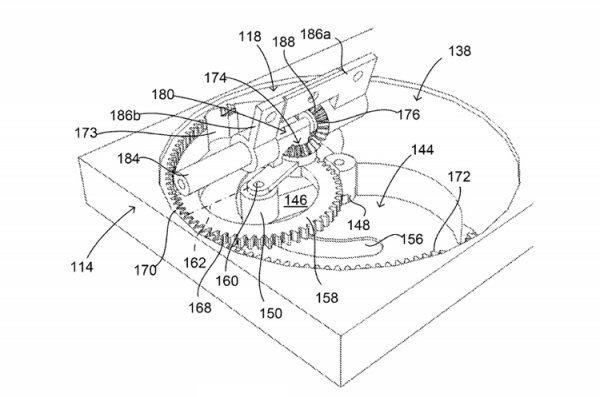
Управление США по патентам и торговым маркам (USPTO) выдало компании Google патент на любопытную разработку в области портативных компьютеров.


Документ носит имя «Notebook computer with motorized display positioning» — ноутбук с системой моторизованного позиционирования дисплея. Речь идёт о специальном механизме для автоматического изменения угла, на который откинута крышка с экраном.


Сообщается, что для определения оптимального положения дисплея будет использоваться информация от набора сенсоров. Это, к примеру, может быть датчик приближения и присутствия пользователя.


Система позволит автоматически регулировать угол раскрытия портативного компьютера в широком диапазоне — от полностью закрытого до полностью открытого. Это избавит пользователей от необходимости поворачивать крышку вручную.


Разработка призвана повысить комфорт взаимодействия с портативными компьютерами. Кроме того, система при организации видеосвязи через встроенную веб-камеру позволит постоянно держать лицо пользователя в поле зрения объектива.


Любопытно, что заявка на патент была подана более четырёх лет назад — в октябре 2013 года. Но зарегистрировать изобретение компании Google удалось только сейчас. О сроках практической реализации разработки ничего не сообщается.

Управление США по патентам и торговым маркам (USPTO) выдало компании Google патент на любопытную разработку в области портативных компьютеров. Документ носит имя «Notebook computer with motorized display positioning» — ноутбук с системой моторизованного позиционирования дисплея. Речь идёт о специальном механизме для автоматического изменения угла, на который откинута крышка с экраном. Сообщается, что для определения оптимального положения дисплея будет использоваться информация от набора сенсоров. Это, к примеру, может быть датчик приближения и присутствия пользователя. Система позволит автоматически регулировать угол раскрытия портативного компьютера в широком диапазоне — от полностью закрытого до полностью открытого. Это избавит пользователей от необходимости поворачивать крышку вручную. Разработка призвана повысить комфорт взаимодействия с портативными компьютерами. Кроме того, система при организации видеосвязи через встроенную веб-камеру позволит постоянно держать лицо пользователя в поле зрения объектива. Любопытно, что заявка на патент была подана более четырёх лет назад — в октябре 2013 года. Но зарегистрировать изобретение компании Google удалось только сейчас. О сроках практической реализации разработки ничего не сообщается.
Цитирование статьи, картинки - фото скриншот - Rambler News Service.
Иллюстрация к статье - Яндекс. Картинки.
Есть вопросы. Напишите нам.
Общие правила  поведения на сайте.

Смотрите также

А что там на главной? )))



Комментарии )))