В Samsung изобрели гибрид беспилотника и планшета - «Новости сети»
Подтверждение прав в Яндекс Вебмастере стало ещё проще: теперь через Яндекс Тег Менеджер и GTM — «Блог для вебмастеров»
Подтверждение прав в Яндекс Вебмастере стало ещё проще: теперь через Яндекс Тег Менеджер и GTM — «Блог для вебмастеров»
Сбер представил Kandinsky 6.0 Image: флагманскую модель, которая умеет профессионально редактировать фото - «Новости мира Интернет»
Сбер представил Kandinsky 6.0 Image: флагманскую модель, которая умеет профессионально редактировать фото - «Новости мира Интернет»
Resident Evil Requiem продаётся так хорошо, что Capcom пришлось повысить прогноз по выручке за год - «Новости сети»
Resident Evil Requiem продаётся так хорошо, что Capcom пришлось повысить прогноз по выручке за год - «Новости сети»
Microsoft запускает K2 — экстренный план по спасению репутации Windows 11 - «Новости сети»
Microsoft запускает K2 — экстренный план по спасению репутации Windows 11 - «Новости сети»
Steam Controller оказалось легко разобрать и отремонтировать - «Новости сети»
Steam Controller оказалось легко разобрать и отремонтировать - «Новости сети»
Сотня за секунду: Dreame показала гиперкар с реактивными ускорителями и твердотельной тяговой батареей - «Новости сети»
Сотня за секунду: Dreame показала гиперкар с реактивными ускорителями и твердотельной тяговой батареей - «Новости сети»
Исследование: полупроводники из оксида галлия работают при температуре ниже, чем в открытом космосе - «Новости сети»
Исследование: полупроводники из оксида галлия работают при температуре ниже, чем в открытом космосе - «Новости сети»
Вопреки опасениям фанатов, в Assassin’s Creed Black Flag Resynced всё-таки будет кровь и «даже не в виде платного DLC» - «Новости сети»
Вопреки опасениям фанатов, в Assassin’s Creed Black Flag Resynced всё-таки будет кровь и «даже не в виде платного DLC» - «Новости сети»
Режиссёр Resident Evil Requiem засветил продажи игры на фотографии с корпоратива Capcom - «Новости сети»
Режиссёр Resident Evil Requiem засветил продажи игры на фотографии с корпоратива Capcom - «Новости сети»
Запустился мессенджер XChat от Илона Маска — обещано сквозное шифрование, секретные чаты, звонки и встроенный Grok - «Новости сети»
Запустился мессенджер XChat от Илона Маска — обещано сквозное шифрование, секретные чаты, звонки и встроенный Grok - «Новости сети»
Новости мира Интернет » Новости » Новости мира Интернет » В Samsung изобрели гибрид беспилотника и планшета - «Новости сети»


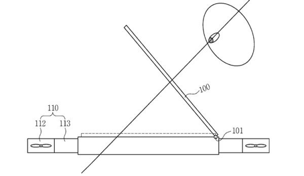
Управление США по патентам и торговым маркам (USPTO) выдало компании Samsung патент на весьма странную разработку — так называемое «летающее устройство с дисплеем» (Flying Display Device).


В документе речь идёт о беспилотном летательном аппарате. Судя по иллюстрациям, конструкция этого дрона предусматривает использование четырёх пропеллеров.


Главной особенностью квадрокоптера является наличие довольно крупного дисплея, расположенного в верхней части корпуса. Причём этот экран может отклоняться на определённый угол благодаря моторизованному креплению. Дисплей, судя по всему, имеет соотношение сторон 1:1.


Отмечается, что конструкция дрона предусматривает наличие средств отслеживания движений. Это позволит беспилотнику автоматически оптимизировать угол наклона экрана в зависимости от местоположения пользователя. Кроме того, планируется реализация функций распознавания жестовых и голосовых команд.


Теоретически необычный гибрид дрона и планшета может применяться в качестве летающего информационного табло. Такое решение могло бы использоваться, скажем, в аэропортах или на вокзалах. Впрочем, о возможных сроках практической реализации запатентованного решения ничего не сообщается.

Управление США по патентам и торговым маркам (USPTO) выдало компании Samsung патент на весьма странную разработку — так называемое «летающее устройство с дисплеем» (Flying Display Device). В документе речь идёт о беспилотном летательном аппарате. Судя по иллюстрациям, конструкция этого дрона предусматривает использование четырёх пропеллеров. Главной особенностью квадрокоптера является наличие довольно крупного дисплея, расположенного в верхней части корпуса. Причём этот экран может отклоняться на определённый угол благодаря моторизованному креплению. Дисплей, судя по всему, имеет соотношение сторон 1:1. Отмечается, что конструкция дрона предусматривает наличие средств отслеживания движений. Это позволит беспилотнику автоматически оптимизировать угол наклона экрана в зависимости от местоположения пользователя. Кроме того, планируется реализация функций распознавания жестовых и голосовых команд. Теоретически необычный гибрид дрона и планшета может применяться в качестве летающего информационного табло. Такое решение могло бы использоваться, скажем, в аэропортах или на вокзалах. Впрочем, о возможных сроках практической реализации запатентованного решения ничего не сообщается.

Цитирование статьи, картинки - фото скриншот - Rambler News Service.
Иллюстрация к статье - Яндекс. Картинки.
Есть вопросы. Напишите нам.
Общие правила  поведения на сайте.

Смотрите также

А что там на главной? )))



Комментарии )))