✔Samsung запатентовала складной и прозрачный смартфон - «Интернет и связь»
Ведомство по патентам и товарным знакам США (USPTO) выдало компании Samsung патенты на несколько ранее не описанных складных смартфонов. Об этом пишет ресурс slashgear.com.
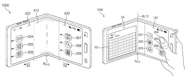
В первом патенте рассказывается об аппарате, который складывается горизонтально по середине экрана. Это может говорить о том, что основное время устройством предложат пользоваться в горизонтальном режиме.
В еще одном патенте описывается устройство, которое получится сложить в двух или трех разных местах. Благодаря этому пользователи получат уникальные сценарии использования гаджета, которые невозможно реализовать с одним шарнирным механизмом.
Например, поставив устройство вертикально, получится превратить одну из частей экрана в подставку. Система автоматически распознает положение аппарата и оптимизирует интерфейс.
На изображениях показаны оба смартфона — складывающийся пополам и с тройным изгибом. На одном из них запущено сообщение из электронной почты, которое занимает половину экрана. На втором участке дисплея — иконки приложений.
Обозреватель slashgear.com заявил, что патент также раскрывает планы Samsung по созданию смартфонов с прозрачными дисплеями. В 2015 году производитель уже показывал подобную технологию в фирменном телевизоре. Смартфон со схожим прозрачным экраном смог бы работать с дополненной реальностью, позволяя видеть окружающий мир через панель с «наложенным» цифровым контентом.
Отметим, что патентирование технологий не означает их обязательное применение в будущих коммерческих аппаратах производителя.
Смотрите, сколько стоят нынешние популярные смартфоны Samsung:
Читайте также
Samsung запатентовала гибкий смартфон с физической клавиатурой
Samsung представила полноэкранные Galaxy A6 и Galaxy A6+
Samsung готовит к выходу Galaxy A8 Star и Galaxy S8 Lite

Если вы заметили ошибку в тексте новости, пожалуйста, выделите её и нажмите Ctrl+Enter
