Инсайдер поделился подробностями о складном Apple iPhone - «Новости сети»
Larian ответила на вопросы игроков о Divinity и генеративном ИИ в разработке — новые подробности амбициозной RPG от создателей Baldur’s Gate 3 - «Новости сети»
Larian ответила на вопросы игроков о Divinity и генеративном ИИ в разработке — новые подробности амбициозной RPG от создателей Baldur’s Gate 3 - «Новости сети»
«Думал, быстрее умру, чем дождусь её»: спустя семь лет после «Мора» в Steam вышла Pathologic 3 - «Новости сети»
«Думал, быстрее умру, чем дождусь её»: спустя семь лет после «Мора» в Steam вышла Pathologic 3 - «Новости сети»
«Sea of Thieves, но в пустыне»: трейлер эвакуационного шутера Sand: Raiders of Sophie понравился игрокам - «Новости сети»
«Sea of Thieves, но в пустыне»: трейлер эвакуационного шутера Sand: Raiders of Sophie понравился игрокам - «Новости сети»
Учёные нашли способ превращения испорченного молока в материал для 3D-печати - «Новости сети»
Учёные нашли способ превращения испорченного молока в материал для 3D-печати - «Новости сети»
Adata и MSI показали «первые в мире» 4-ранговые модули памяти DDR5 CUDIMM на 128 Гбайт - «Новости сети»
Adata и MSI показали «первые в мире» 4-ранговые модули памяти DDR5 CUDIMM на 128 Гбайт - «Новости сети»
Спустя восемь лет после Wolfenstein 2: The New Colossus студия MachineGames взялась за Wolfenstein 3 — разработку подтвердил ещё один источник - «Новости сети»
Спустя восемь лет после Wolfenstein 2: The New Colossus студия MachineGames взялась за Wolfenstein 3 — разработку подтвердил ещё один источник - «Новости сети»
Micron на следующей неделе заложит фундамент крупнейшего комплекса по производству памяти в США - «Новости сети»
Micron на следующей неделе заложит фундамент крупнейшего комплекса по производству памяти в США - «Новости сети»
Власти потребовали от китайских компаний отменить заказы на американские ускорители Nvidia H200 - «Новости сети»
Власти потребовали от китайских компаний отменить заказы на американские ускорители Nvidia H200 - «Новости сети»
Sony анонсировала лимитированную коллекцию ярких RGB-чехлов для PlayStation 5 - «Новости сети»
Sony анонсировала лимитированную коллекцию ярких RGB-чехлов для PlayStation 5 - «Новости сети»
Блоки питания MSI получили звуковую защиту от плавления разъёма 12V-2×6 - «Новости сети»
Блоки питания MSI получили звуковую защиту от плавления разъёма 12V-2×6 - «Новости сети»
Новости мира Интернет » Новости » Новости мира Интернет » Инсайдер поделился подробностями о складном Apple iPhone - «Новости сети»


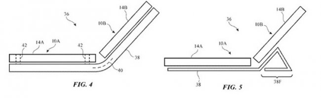
По неофициальной информации Apple уже некоторое время работает над прототипом складного iPhone, который должен составить конкуренцию подобным устройствам производства Samsung. Авторитетный инсайдер Джон Проссер (Jon Prosser) утверждает, что устройство получит два отдельных дисплея, соединённых шарниром, а не один гибкий дисплей, как у большинства современных смартфонов такого типа.



Информация сайта - «print-prime.ru»




Проссер утверждает, что складной iPhone будет иметь такие же скруглённые боковые грани, как и iPhone 11. Кроме того у устройства будет отсутствовать уже привычная для iPhone «чёлка», однако на внешнем дисплее будет присутствовать крошечный вырез, в котором будет умещена система распознавания лиц TrueDepth, на которую полагается Face ID.



Информация сайта - «print-prime.ru»



Несмотря на то, что устройство получит два отдельных дисплея, Проссер утверждает, что дисплеи смартфона создают впечатление единой панели. Таким образом, складной iPhone больше напоминает по конструкции такие устройства, как Microsoft Surface Neo и Surface Duo, чем Samsung Galaxy Fold, с последующими версиями которого вероятно будет конкурировать.



Информация сайта - «print-prime.ru»




Пока неизвестно, когда Apple выпустит складной iPhone на рынок. Слухи о его разработке ходят ещё с 2016 года. В марте текущего года компания запатентовала устройство с двумя дисплеями, соединёнными шарниром, которое очень похоже на то, что описал Проссер. И хотя в последнее время подробностей об устройстве становится всё больше, вряд ли Apple представит его в ближайшем будущем.
Цитирование статьи, картинки - фото скриншот - Rambler News Service.
Иллюстрация к статье - Яндекс. Картинки.
Есть вопросы. Напишите нам.
Общие правила  поведения на сайте.

По неофициальной информации Apple уже некоторое время работает над прототипом складного iPhone, который должен составить конкуренцию подобным устройствам производства Samsung. Авторитетный инсайдер Джон Проссер (Jon Prosser) утверждает, что устройство получит два отдельных дисплея, соединённых шарниром, а не один гибкий дисплей, как у большинства современных смартфонов такого типа. Информация сайта - «print-prime.ru» Проссер утверждает, что складной iPhone будет иметь такие же скруглённые боковые грани, как и iPhone 11. Кроме того у устройства будет отсутствовать уже привычная для iPhone «чёлка», однако на внешнем дисплее будет присутствовать крошечный вырез, в котором будет умещена система распознавания лиц TrueDepth, на которую полагается Face ID. Информация сайта - «print-prime.ru» Несмотря на то, что устройство получит два отдельных дисплея, Проссер утверждает, что дисплеи смартфона создают впечатление единой панели. Таким образом, складной iPhone больше напоминает по конструкции такие устройства, как Microsoft Surface Neo и Surface Duo, чем Samsung Galaxy Fold, с последующими версиями которого вероятно будет конкурировать. Информация сайта - «print-prime.ru» Пока неизвестно, когда Apple выпустит складной iPhone на рынок. Слухи о его разработке ходят ещё с 2016 года. В марте текущего года компания запатентовала устройство с двумя дисплеями, соединёнными шарниром, которое очень похоже на то, что описал Проссер. И хотя в последнее время подробностей об устройстве становится всё больше, вряд ли Apple представит его в ближайшем будущем.

Смотрите также

А что там на главной? )))



Комментарии )))