LG запатентовала рулонный ТВ-дисплей - «Новости сети»
Heroes of Might & Magic: Olden Era вышла в раннем доступе Steam — фанаты ждали этого 11 лет - «Новости сети»
Heroes of Might & Magic: Olden Era вышла в раннем доступе Steam — фанаты ждали этого 11 лет - «Новости сети»
Epic Games Store устроил раздачу Hogwarts Legacy в честь 25-летия кинофраншизы «Гарри Поттер» — россиян оставили без подарка - «Новости сети»
Epic Games Store устроил раздачу Hogwarts Legacy в честь 25-летия кинофраншизы «Гарри Поттер» — россиян оставили без подарка - «Новости сети»
«Сделано в Германии»: Volla представила защищённый смартфон Phone Plinius со съёмной батареей и парой ОС на выбор - «Новости сети»
«Сделано в Германии»: Volla представила защищённый смартфон Phone Plinius со съёмной батареей и парой ОС на выбор - «Новости сети»
Noctua объяснила, почему чёрные вентиляторы выходят позже стандартных бежево-коричневых - «Новости сети»
Noctua объяснила, почему чёрные вентиляторы выходят позже стандартных бежево-коричневых - «Новости сети»
Учёные близки к разгадке тайны «маленьких красных точек» в глубинах Вселенной — «Уэбб» засёк у одной из них признаки чёрной дыры - «Новости сети»
Учёные близки к разгадке тайны «маленьких красных точек» в глубинах Вселенной — «Уэбб» засёк у одной из них признаки чёрной дыры - «Новости сети»
Подтверждение прав в Яндекс Вебмастере стало ещё проще: теперь через Яндекс Тег Менеджер и GTM — «Блог для вебмастеров»
Подтверждение прав в Яндекс Вебмастере стало ещё проще: теперь через Яндекс Тег Менеджер и GTM — «Блог для вебмастеров»
Сбер представил Kandinsky 6.0 Image: флагманскую модель, которая умеет профессионально редактировать фото - «Новости мира Интернет»
Сбер представил Kandinsky 6.0 Image: флагманскую модель, которая умеет профессионально редактировать фото - «Новости мира Интернет»
Resident Evil Requiem продаётся так хорошо, что Capcom пришлось повысить прогноз по выручке за год - «Новости сети»
Resident Evil Requiem продаётся так хорошо, что Capcom пришлось повысить прогноз по выручке за год - «Новости сети»
Microsoft запускает K2 — экстренный план по спасению репутации Windows 11 - «Новости сети»
Microsoft запускает K2 — экстренный план по спасению репутации Windows 11 - «Новости сети»
Steam Controller оказалось легко разобрать и отремонтировать - «Новости сети»
Steam Controller оказалось легко разобрать и отремонтировать - «Новости сети»
Новости мира Интернет » Новости » Новости мира Интернет » LG запатентовала рулонный ТВ-дисплей - «Новости сети»


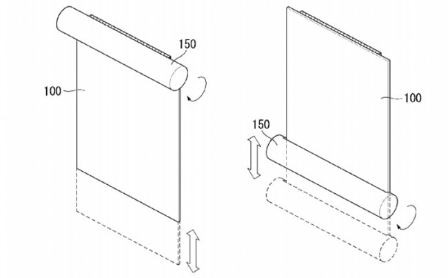
Управление США по патентам и торговым маркам (USPTO) выдало компании LG Display патент на так называемый «скручивающийся дисплей» (Rollable display). Как можно видеть на иллюстрациях, южнокорейский разработчик размышляет над телевизором, выполненным в цилиндрическом корпусе.



Информация сайта - «print-prime.ru»




В сложенном состоянии устройство не займёт много места. Таким образом, панель можно будет без проблем интегрировать в различные интерьеры.


Для перевода устройства в рабочий режим достаточно будет вытянуть экран из корпуса. Цилиндрический модуль может монтироваться как вертикально, так и горизонтально.


По всей видимости, пользователи смогут вытягивать дисплей на определённую длину — скажем, для полноценного просмотра видеоматериалов или только лишь для отображения полезной информации.


В патенте говорится, что экран может быть выполнен по технологии органических светодиодов (OLED). Не исключён также вариант применения электронной бумаги.


Заявка на патент была подана ещё в декабре 2016 года, но выдан документ только сейчас. О планах LG Display по коммерциализации рулонного телевизора пока ничего не сообщается.

Управление США по патентам и торговым маркам (USPTO) выдало компании LG Display патент на так называемый «скручивающийся дисплей» (Rollable display). Как можно видеть на иллюстрациях, южнокорейский разработчик размышляет над телевизором, выполненным в цилиндрическом корпусе. Информация сайта - «print-prime.ru» В сложенном состоянии устройство не займёт много места. Таким образом, панель можно будет без проблем интегрировать в различные интерьеры. Для перевода устройства в рабочий режим достаточно будет вытянуть экран из корпуса. Цилиндрический модуль может монтироваться как вертикально, так и горизонтально. По всей видимости, пользователи смогут вытягивать дисплей на определённую длину — скажем, для полноценного просмотра видеоматериалов или только лишь для отображения полезной информации. В патенте говорится, что экран может быть выполнен по технологии органических светодиодов (OLED). Не исключён также вариант применения электронной бумаги. Заявка на патент была подана ещё в декабре 2016 года, но выдан документ только сейчас. О планах LG Display по коммерциализации рулонного телевизора пока ничего не сообщается.

Цитирование статьи, картинки - фото скриншот - Rambler News Service.
Иллюстрация к статье - Яндекс. Картинки.
Есть вопросы. Напишите нам.
Общие правила  поведения на сайте.

0

Смотрите также

А что там на главной? )))



Комментарии )))