В Samsung придумали смартфон с раздвижным дисплеем - «Новости сети»
YouTube приступает к показу обязательной к просмотру рекламы на телевизорах по всему миру - «Новости сети»
YouTube приступает к показу обязательной к просмотру рекламы на телевизорах по всему миру - «Новости сети»
«Первый достойный наследник Disco Elysium»: в Steam вышла фэнтезийная ролевая игра Esoteric Ebb, вдохновлённая Planescape: Torment - «Новости сети»
«Первый достойный наследник Disco Elysium»: в Steam вышла фэнтезийная ролевая игра Esoteric Ebb, вдохновлённая Planescape: Torment - «Новости сети»
Google представила Gemini 3.1 Flash-Lite — «самую быструю и экономически эффективную модель семейства» - «Новости сети»
Google представила Gemini 3.1 Flash-Lite — «самую быструю и экономически эффективную модель семейства» - «Новости сети»
«Первое хорошее обновление за три года»: легендарная CS:GO вернулась в Steam к радости фанатов - «Новости сети»
«Первое хорошее обновление за три года»: легендарная CS:GO вернулась в Steam к радости фанатов - «Новости сети»
Seagate приступила к массовым поставкам жёстких дисков семейства Mozaic 4+, обеспечивающих ёмкость до 44 Тбайт - «Новости сети»
Seagate приступила к массовым поставкам жёстких дисков семейства Mozaic 4+, обеспечивающих ёмкость до 44 Тбайт - «Новости сети»
Perplexity запустила автономную ИИ-платформу на базе десятка нейросетей - «Новости мира Интернет»
Perplexity запустила автономную ИИ-платформу на базе десятка нейросетей - «Новости мира Интернет»
Google анонсировала новый генератор изображений Nano Banana 2 - «Новости мира Интернет»
Google анонсировала новый генератор изображений Nano Banana 2 - «Новости мира Интернет»
Вышло приложение Nearby Glasses для обнаружения очков с камерой в радиусе 15 метров - «Новости мира Интернет»
Вышло приложение Nearby Glasses для обнаружения очков с камерой в радиусе 15 метров - «Новости мира Интернет»
Обновили алгоритм расчёта ИКС сайта — смотрите результаты в Яндекс Вебмастере — «Блог для вебмастеров»
Обновили алгоритм расчёта ИКС сайта — смотрите результаты в Яндекс Вебмастере — «Блог для вебмастеров»
Google добавила режим Split View в Chrome и аннотации в PDF - «Новости мира Интернет»
Google добавила режим Split View в Chrome и аннотации в PDF - «Новости мира Интернет»
Новости мира Интернет » Новости » Новости мира Интернет » В Samsung придумали смартфон с раздвижным дисплеем - «Новости сети»


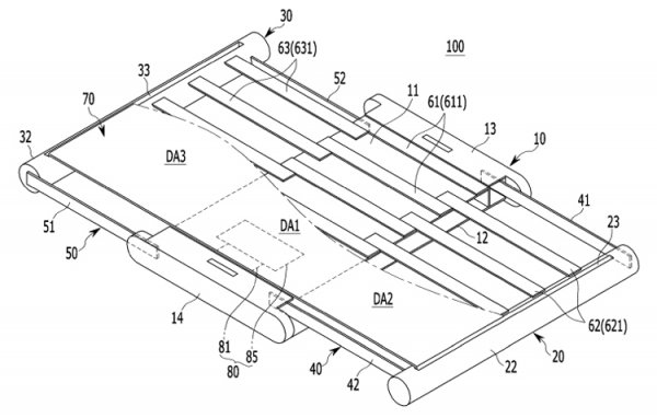
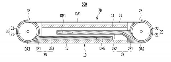
Управление США по патентам и торговым маркам (USPTO) рассекретило патентную заявку Samsung на смартфон с оригинальной конструкцией.


Документ озаглавлен «Устройство с дисплеем» (Display Device). Заявка на патент была подана южнокорейским гигантом в июле прошлого года, но на сайте USPTO она опубликована только сейчас.


Идея заключается в создании сотового аппарата с раздвижным дисплеем. По задумке Samsung, экран у такого устройства будет состоять из трёх секций — основной и двух дополнительных. Последние будут скрываться за основным модулем, выдвигаясь при необходимости влево и вправо.


Таким образом, владелец гаджета получит возможность удваивать или утраивать полезную площадь экрана — в зависимости от типа используемого приложения. Это будет полезно, скажем, при просмотре видеоматериалов, одновременной работе с несколькими программами, пролистывании объёмных документов и т. д.


Нужно, впрочем, отметить, что пока Samsung лишь патентует мобильный аппарат с раздвижным дисплеем — о планах компании по выводу разработки на коммерческий рынок ничего не сообщается. Но не исключено, что в перспективе предложенное решение в том или ином виде найдёт применение в смартфонах и фаблетах нового поколения с расширенной функциональностью.

Управление США по патентам и торговым маркам (USPTO) рассекретило патентную заявку Samsung на смартфон с оригинальной конструкцией. Документ озаглавлен «Устройство с дисплеем» (Display Device). Заявка на патент была подана южнокорейским гигантом в июле прошлого года, но на сайте USPTO она опубликована только сейчас. Идея заключается в создании сотового аппарата с раздвижным дисплеем. По задумке Samsung, экран у такого устройства будет состоять из трёх секций — основной и двух дополнительных. Последние будут скрываться за основным модулем, выдвигаясь при необходимости влево и вправо. Таким образом, владелец гаджета получит возможность удваивать или утраивать полезную площадь экрана — в зависимости от типа используемого приложения. Это будет полезно, скажем, при просмотре видеоматериалов, одновременной работе с несколькими программами, пролистывании объёмных документов и т. д. Нужно, впрочем, отметить, что пока Samsung лишь патентует мобильный аппарат с раздвижным дисплеем — о планах компании по выводу разработки на коммерческий рынок ничего не сообщается. Но не исключено, что в перспективе предложенное решение в том или ином виде найдёт применение в смартфонах и фаблетах нового поколения с расширенной функциональностью.

Цитирование статьи, картинки - фото скриншот - Rambler News Service.
Иллюстрация к статье - Яндекс. Картинки.
Есть вопросы. Напишите нам.
Общие правила  поведения на сайте.

Смотрите также

А что там на главной? )))



Комментарии )))