Samsung размышляет над смарт-браслетом нового типа - «Новости сети»
Heroes of Might & Magic: Olden Era вышла в раннем доступе Steam — фанаты ждали этого 11 лет - «Новости сети»
Heroes of Might & Magic: Olden Era вышла в раннем доступе Steam — фанаты ждали этого 11 лет - «Новости сети»
Epic Games Store устроил раздачу Hogwarts Legacy в честь 25-летия кинофраншизы «Гарри Поттер» — россиян оставили без подарка - «Новости сети»
Epic Games Store устроил раздачу Hogwarts Legacy в честь 25-летия кинофраншизы «Гарри Поттер» — россиян оставили без подарка - «Новости сети»
«Сделано в Германии»: Volla представила защищённый смартфон Phone Plinius со съёмной батареей и парой ОС на выбор - «Новости сети»
«Сделано в Германии»: Volla представила защищённый смартфон Phone Plinius со съёмной батареей и парой ОС на выбор - «Новости сети»
Noctua объяснила, почему чёрные вентиляторы выходят позже стандартных бежево-коричневых - «Новости сети»
Noctua объяснила, почему чёрные вентиляторы выходят позже стандартных бежево-коричневых - «Новости сети»
Учёные близки к разгадке тайны «маленьких красных точек» в глубинах Вселенной — «Уэбб» засёк у одной из них признаки чёрной дыры - «Новости сети»
Учёные близки к разгадке тайны «маленьких красных точек» в глубинах Вселенной — «Уэбб» засёк у одной из них признаки чёрной дыры - «Новости сети»
Подтверждение прав в Яндекс Вебмастере стало ещё проще: теперь через Яндекс Тег Менеджер и GTM — «Блог для вебмастеров»
Подтверждение прав в Яндекс Вебмастере стало ещё проще: теперь через Яндекс Тег Менеджер и GTM — «Блог для вебмастеров»
Сбер представил Kandinsky 6.0 Image: флагманскую модель, которая умеет профессионально редактировать фото - «Новости мира Интернет»
Сбер представил Kandinsky 6.0 Image: флагманскую модель, которая умеет профессионально редактировать фото - «Новости мира Интернет»
Resident Evil Requiem продаётся так хорошо, что Capcom пришлось повысить прогноз по выручке за год - «Новости сети»
Resident Evil Requiem продаётся так хорошо, что Capcom пришлось повысить прогноз по выручке за год - «Новости сети»
Microsoft запускает K2 — экстренный план по спасению репутации Windows 11 - «Новости сети»
Microsoft запускает K2 — экстренный план по спасению репутации Windows 11 - «Новости сети»
Steam Controller оказалось легко разобрать и отремонтировать - «Новости сети»
Steam Controller оказалось легко разобрать и отремонтировать - «Новости сети»
Новости мира Интернет » Новости » Новости мира Интернет » Samsung размышляет над смарт-браслетом нового типа - «Новости сети»

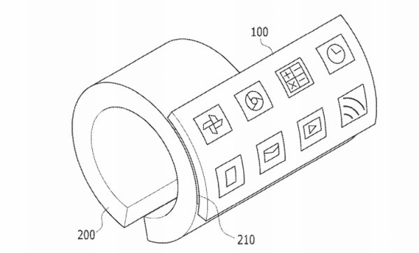
  1. Управление США по патентам и торговым маркам (USPTO) выдало компании Samsung патент на «Носимое устройство с дисплеем» (Wearable display device).

  2. Samsung размышляет над смарт-браслетом нового типа - «Новости сети»

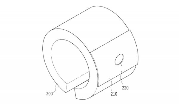
  3. Под этим определением скрывается «умный» браслет нового типа. Такой носимый гаджет будет состоять из двух основных элементов — кольцеобразного основания, надевающегося на руку, и гибкого экрана.

  4. По задумке южнокорейского гиганта, пользователи смогут взаимодействовать с деформируемым дисплеем в нескольких режимах. В частности, эта сенсорная панель может повторять форму изогнутого основания или отклоняться от него, формируя плоскую рабочую поверхность.

  5. Samsung размышляет над смарт-браслетом нового типа - «Новости сети»

  6. Более того, специальное крепление экрана позволит поворачивать его в нужную сторону для перевода из портретной ориентации в альбомную. Это может быть полезным, например, при наборе текста.

  7. Samsung размышляет над смарт-браслетом нового типа - «Новости сети»

  8. Собственно основание может быть выполнено из различных материалов, не наносящих вреда коже. Очевидно, что устройство предназначено для работы в паре со смартфоном или фаблетом. На дисплее браслета могут отображаться различные уведомления, интерфейс мультимедийного плеера, контакты и пр.

  9. Samsung размышляет над смарт-браслетом нового типа - «Новости сети»

  10. Заявка на патент была подана ещё в августе 2015 года, но зарегистрировано изобретение только сейчас. О планах по выпуску коммерческих браслетов нового типа ничего не говорится.

Управление США по патентам и торговым маркам (USPTO) выдало компании Samsung патент на «Носимое устройство с дисплеем» (Wearable display device). Под этим определением скрывается «умный» браслет нового типа. Такой носимый гаджет будет состоять из двух основных элементов — кольцеобразного основания, надевающегося на руку, и гибкого экрана. По задумке южнокорейского гиганта, пользователи смогут взаимодействовать с деформируемым дисплеем в нескольких режимах. В частности, эта сенсорная панель может повторять форму изогнутого основания или отклоняться от него, формируя плоскую рабочую поверхность. Более того, специальное крепление экрана позволит поворачивать его в нужную сторону для перевода из портретной ориентации в альбомную. Это может быть полезным, например, при наборе текста. Собственно основание может быть выполнено из различных материалов, не наносящих вреда коже. Очевидно, что устройство предназначено для работы в паре со смартфоном или фаблетом. На дисплее браслета могут отображаться различные уведомления, интерфейс мультимедийного плеера, контакты и пр. Заявка на патент была подана ещё в августе 2015 года, но зарегистрировано изобретение только сейчас. О планах по выпуску коммерческих браслетов нового типа ничего не говорится.

Цитирование статьи, картинки - фото скриншот - Rambler News Service.
Иллюстрация к статье - Яндекс. Картинки.
Есть вопросы. Напишите нам.
Общие правила  поведения на сайте.

Смотрите также

А что там на главной? )))



Комментарии )))