В Lenovo изобрели ноутбук с несколькими дисплеями - «Новости сети»
Компания Balmuda и экс-дизайнер Apple представили премиальный будильник с режимами для сна и работы - «Новости мира Интернет»
Компания Balmuda и экс-дизайнер Apple представили премиальный будильник с режимами для сна и работы - «Новости мира Интернет»
Apple планирует выпустить для Siri отдельное приложение в формате чат-бота - «Новости мира Интернет»
Apple планирует выпустить для Siri отдельное приложение в формате чат-бота - «Новости мира Интернет»
Google представила Lyria 3 Pro – ИИ для создания полноценных музыкальных треков - «Новости мира Интернет»
Google представила Lyria 3 Pro – ИИ для создания полноценных музыкальных треков - «Новости мира Интернет»
Ganance выпустили аксессуар Heir, который превращает обычные часы в умные - «Новости мира Интернет»
Ganance выпустили аксессуар Heir, который превращает обычные часы в умные - «Новости мира Интернет»
Разработчики Forza Horizon 6 «выкатили» системные требования — в том числе для «экстремальных» настроек графики и трассировки лучей - «Новости сети»
Разработчики Forza Horizon 6 «выкатили» системные требования — в том числе для «экстремальных» настроек графики и трассировки лучей - «Новости сети»
Nvidia выпустила драйвер-заплатку для исправления подтормаживаний в Arknights: Endfield - «Новости сети»
Nvidia выпустила драйвер-заплатку для исправления подтормаживаний в Arknights: Endfield - «Новости сети»
Q-Day ближе, чем все думали: Google резко приблизила сроки взлома почти всей современной криптографии - «Новости сети»
Q-Day ближе, чем все думали: Google резко приблизила сроки взлома почти всей современной криптографии - «Новости сети»
В iFixit разобрали Samsung Galaxy S26 Ultra: аккумулятор заменить легко, а камеры и экран — нет - «Новости сети»
В iFixit разобрали Samsung Galaxy S26 Ultra: аккумулятор заменить легко, а камеры и экран — нет - «Новости сети»
Через два года США первыми в истории запустят корабль с ядерным двигателем за пределы земной орбиты — к Марсу - «Новости сети»
Через два года США первыми в истории запустят корабль с ядерным двигателем за пределы земной орбиты — к Марсу - «Новости сети»
Разработчики Android внедряют тестовый период после установки приложений от непроверенных разработчиков - «Новости мира Интернет»
Разработчики Android внедряют тестовый период после установки приложений от непроверенных разработчиков - «Новости мира Интернет»
Новости мира Интернет » Новости » Новости мира Интернет » В Lenovo изобрели ноутбук с несколькими дисплеями - «Новости сети»


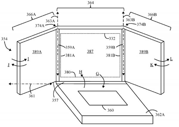
Всемирная организация интеллектуальной собственности (World Intellectual Property Organization, WIPO), по сообщениям сетевых источников, обнародовала патентную документацию Lenovo на портативный компьютер с необычной конструкцией.


Речь идёт о ноутбуке с многодисплейной конфигурацией. Как можно видеть на иллюстрациях, Lenovo предлагает несколько вариантов реализации идеи. К примеру, лэптоп может быть оснащён двумя дополнительными экранами с шарнирным креплением, которые располагаются слева и справа от основного.


Компания Lenovo рассматривает возможность разворота дополнительных дисплейных секций таким образом, чтобы можно было трансформировать ноутбук в планшет с сенсорным управлением.


Отмечается, что предложенный дизайн предполагает наличие камер на внутренней и внешней сторонах крышки. Кроме того, сообщается, что запатентованная конструкция теоретически может использоваться при создании складных смартфонов и фаблетов с гибко изменяемой конфигурацией.


Впрочем, пока Lenovo лишь запатентовала разработку. О возможных сроках её практической реализации, к сожалению, ничего не сообщается.

Всемирная организация интеллектуальной собственности (World Intellectual Property Organization, WIPO), по сообщениям сетевых источников, обнародовала патентную документацию Lenovo на портативный компьютер с необычной конструкцией. Речь идёт о ноутбуке с многодисплейной конфигурацией. Как можно видеть на иллюстрациях, Lenovo предлагает несколько вариантов реализации идеи. К примеру, лэптоп может быть оснащён двумя дополнительными экранами с шарнирным креплением, которые располагаются слева и справа от основного. Компания Lenovo рассматривает возможность разворота дополнительных дисплейных секций таким образом, чтобы можно было трансформировать ноутбук в планшет с сенсорным управлением. Отмечается, что предложенный дизайн предполагает наличие камер на внутренней и внешней сторонах крышки. Кроме того, сообщается, что запатентованная конструкция теоретически может использоваться при создании складных смартфонов и фаблетов с гибко изменяемой конфигурацией. Впрочем, пока Lenovo лишь запатентовала разработку. О возможных сроках её практической реализации, к сожалению, ничего не сообщается.

Цитирование статьи, картинки - фото скриншот - Rambler News Service.
Иллюстрация к статье - Яндекс. Картинки.
Есть вопросы. Напишите нам.
Общие правила  поведения на сайте.

0

Смотрите также

А что там на главной? )))



Комментарии )))