В LG придумали смартфон с двумя экранами и двумя аккумуляторами - «Новости сети»
YouTube приступает к показу обязательной к просмотру рекламы на телевизорах по всему миру - «Новости сети»
YouTube приступает к показу обязательной к просмотру рекламы на телевизорах по всему миру - «Новости сети»
«Первый достойный наследник Disco Elysium»: в Steam вышла фэнтезийная ролевая игра Esoteric Ebb, вдохновлённая Planescape: Torment - «Новости сети»
«Первый достойный наследник Disco Elysium»: в Steam вышла фэнтезийная ролевая игра Esoteric Ebb, вдохновлённая Planescape: Torment - «Новости сети»
Google представила Gemini 3.1 Flash-Lite — «самую быструю и экономически эффективную модель семейства» - «Новости сети»
Google представила Gemini 3.1 Flash-Lite — «самую быструю и экономически эффективную модель семейства» - «Новости сети»
«Первое хорошее обновление за три года»: легендарная CS:GO вернулась в Steam к радости фанатов - «Новости сети»
«Первое хорошее обновление за три года»: легендарная CS:GO вернулась в Steam к радости фанатов - «Новости сети»
Seagate приступила к массовым поставкам жёстких дисков семейства Mozaic 4+, обеспечивающих ёмкость до 44 Тбайт - «Новости сети»
Seagate приступила к массовым поставкам жёстких дисков семейства Mozaic 4+, обеспечивающих ёмкость до 44 Тбайт - «Новости сети»
Perplexity запустила автономную ИИ-платформу на базе десятка нейросетей - «Новости мира Интернет»
Perplexity запустила автономную ИИ-платформу на базе десятка нейросетей - «Новости мира Интернет»
Google анонсировала новый генератор изображений Nano Banana 2 - «Новости мира Интернет»
Google анонсировала новый генератор изображений Nano Banana 2 - «Новости мира Интернет»
Вышло приложение Nearby Glasses для обнаружения очков с камерой в радиусе 15 метров - «Новости мира Интернет»
Вышло приложение Nearby Glasses для обнаружения очков с камерой в радиусе 15 метров - «Новости мира Интернет»
Обновили алгоритм расчёта ИКС сайта — смотрите результаты в Яндекс Вебмастере — «Блог для вебмастеров»
Обновили алгоритм расчёта ИКС сайта — смотрите результаты в Яндекс Вебмастере — «Блог для вебмастеров»
Google добавила режим Split View в Chrome и аннотации в PDF - «Новости мира Интернет»
Google добавила режим Split View в Chrome и аннотации в PDF - «Новости мира Интернет»
Новости мира Интернет » Новости » Новости мира Интернет » В LG придумали смартфон с двумя экранами и двумя аккумуляторами - «Новости сети»


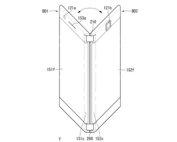
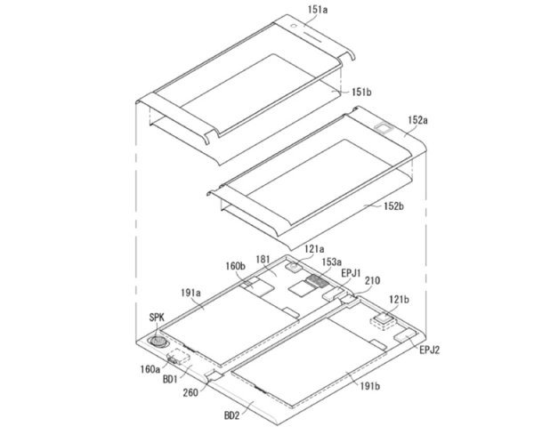
Всемирная организация интеллектуальной собственности (World Intellectual Property Organization, WIPO) обнародовала патентную документацию LG на оригинальный смартфон со складной конструкцией.


Речь идёт об аппарате-книжке с двумя дисплеями, которые расположены на внешних панелях раскладывающегося корпуса. Экраны слегка загнуты на стороне шарнирного крепления — это позволяет отображать в торцевой части различные уведомления, скажем, время, дату и пр.


Каждая из половинок корпуса наделена собственной аккумуляторной батареей, своим гнездом для наушников и собственной камерой.


Использовать смартфон предлагается в нескольких режимах. Раскрыв аппарат, пользователь сможет превратить его в мини-планшет: при этом на два экрана может выводиться единое изображение.


Установив устройство в полуоткрытом состоянии, скажем, на столе, можно превратить его в медиаплеер для двух пользователей: каждый из них будет видеть свою картинку и получать звук через собственные наушники.


Заявка на патент была подана ещё в 2016 году, но обнародован документ только сейчас. О том, планирует ли компания LG выпуск коммерческих устройств с описанной конструкцией, ничего не сообщается.

Всемирная организация интеллектуальной собственности (World Intellectual Property Organization, WIPO) обнародовала патентную документацию LG на оригинальный смартфон со складной конструкцией. Речь идёт об аппарате-книжке с двумя дисплеями, которые расположены на внешних панелях раскладывающегося корпуса. Экраны слегка загнуты на стороне шарнирного крепления — это позволяет отображать в торцевой части различные уведомления, скажем, время, дату и пр. Каждая из половинок корпуса наделена собственной аккумуляторной батареей, своим гнездом для наушников и собственной камерой. Использовать смартфон предлагается в нескольких режимах. Раскрыв аппарат, пользователь сможет превратить его в мини-планшет: при этом на два экрана может выводиться единое изображение. Установив устройство в полуоткрытом состоянии, скажем, на столе, можно превратить его в медиаплеер для двух пользователей: каждый из них будет видеть свою картинку и получать звук через собственные наушники. Заявка на патент была подана ещё в 2016 году, но обнародован документ только сейчас. О том, планирует ли компания LG выпуск коммерческих устройств с описанной конструкцией, ничего не сообщается.

Цитирование статьи, картинки - фото скриншот - Rambler News Service.
Иллюстрация к статье - Яндекс. Картинки.
Есть вопросы. Напишите нам.
Общие правила  поведения на сайте.

запостил(а)
Francis
Вернуться назад
0

Смотрите также

А что там на главной? )))



Комментарии )))