В Microsoft придумали электронное перо с сенсорным зажимом - «Новости сети»
АЭС — это долго: в Казахстане построят «долину ЦОД» с питанием от угольных электростанций - «Новости сети»
АЭС — это долго: в Казахстане построят «долину ЦОД» с питанием от угольных электростанций - «Новости сети»
«Да здравствует Принц!»: в ответ на отмену ремейка GOG спасёт классическую Prince of Persia: The Sands of Time от цифрового небытия - «Новости сети»
«Да здравствует Принц!»: в ответ на отмену ремейка GOG спасёт классическую Prince of Persia: The Sands of Time от цифрового небытия - «Новости сети»
«Google Фото» научились превращать фотографии пользователей в мемы с помощью ИИ - «Новости сети»
«Google Фото» научились превращать фотографии пользователей в мемы с помощью ИИ - «Новости сети»
Проблемное январское обновление Windows 11 отказывается удаляться — два способа вернуть систему в норму - «Новости сети»
Проблемное январское обновление Windows 11 отказывается удаляться — два способа вернуть систему в норму - «Новости сети»
В Китае придумали, как обмануть Вселенную и занедорого зажечь «искусственное солнце» на Земле - «Новости сети»
В Китае придумали, как обмануть Вселенную и занедорого зажечь «искусственное солнце» на Земле - «Новости сети»
Россияне оспорили отказ суда рассматривать иск о блокировке звонков в Telegram и WhatsApp - «Новости сети»
Россияне оспорили отказ суда рассматривать иск о блокировке звонков в Telegram и WhatsApp - «Новости сети»
Sony анонсировала первый за семь лет проигрыватели виниловых пластинок - «Новости сети»
Sony анонсировала первый за семь лет проигрыватели виниловых пластинок - «Новости сети»
Intel упускает миллиарды из-за дефицита процессоров и производственных проблем — акции рухнули на 11 % - «Новости сети»
Intel упускает миллиарды из-за дефицита процессоров и производственных проблем — акции рухнули на 11 % - «Новости сети»
Илон Маск пообещал, что роботы Tesla Optimus точно-точно поступят в продажу в конце 2027 года - «Новости сети»
Илон Маск пообещал, что роботы Tesla Optimus точно-точно поступят в продажу в конце 2027 года - «Новости сети»
Луна подождёт: третий пуск ракеты Blue Origin New Glenn в конце февраля доставит спутник главного конкурента Starlink - «Новости сети»
Луна подождёт: третий пуск ракеты Blue Origin New Glenn в конце февраля доставит спутник главного конкурента Starlink - «Новости сети»
Новости мира Интернет » Новости » Новости мира Интернет » В Microsoft придумали электронное перо с сенсорным зажимом - «Новости сети»


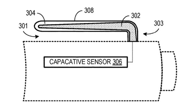
Управление США по патентам и торговым маркам (USPTO) выдало корпорации Microsoft патент на очередную разработку в сфере мобильных устройств — планшетов и фаблетов.


В документе № 9,891,726, зарегистрированном 13 февраля 2018 года, описывается «Стилус с сенсорным удерживающим зажимом» (Stylus with touch-sensitive retention clip). Идея заключается в том, чтобы расширить функциональность электронного пера, предназначенного для работы с гаджетами.


Предполагается, что зажим на стилусе, при помощи которого перо можно удобно закрепить, скажем, в кармане, сможет распознавать прикосновения. Благодаря этому пользователи смогут отдавать команды, проводя пальцем по поверхности зажима.


Можно выделить два основных режима использования новой функции. Один из них — это прокрутка документов или веб-страниц. Во втором режиме перемещение пальца по зажиму будет активировать операции масштабирования.


Заявка на изобретение была подана редмондским гигантом ещё в августе 2016 года, но выдан патент только сейчас. О сроках возможного практического внедрения разработки традиционно ничего не сообщается.


Добавим, что ранее Microsoft предложила использовать стилус в качестве джойстика. Подробнее об этом решении можно узнать в нашем материале.

Управление США по патентам и торговым маркам (USPTO) выдало корпорации Microsoft патент на очередную разработку в сфере мобильных устройств — планшетов и фаблетов. В документе № 9,891,726, зарегистрированном 13 февраля 2018 года, описывается «Стилус с сенсорным удерживающим зажимом» (Stylus with touch-sensitive retention clip). Идея заключается в том, чтобы расширить функциональность электронного пера, предназначенного для работы с гаджетами. Предполагается, что зажим на стилусе, при помощи которого перо можно удобно закрепить, скажем, в кармане, сможет распознавать прикосновения. Благодаря этому пользователи смогут отдавать команды, проводя пальцем по поверхности зажима. Можно выделить два основных режима использования новой функции. Один из них — это прокрутка документов или веб-страниц. Во втором режиме перемещение пальца по зажиму будет активировать операции масштабирования. Заявка на изобретение была подана редмондским гигантом ещё в августе 2016 года, но выдан патент только сейчас. О сроках возможного практического внедрения разработки традиционно ничего не сообщается. Добавим, что ранее Microsoft предложила использовать стилус в качестве джойстика. Подробнее об этом решении можно узнать в нашем материале.
Цитирование статьи, картинки - фото скриншот - Rambler News Service.
Иллюстрация к статье - Яндекс. Картинки.
Есть вопросы. Напишите нам.
Общие правила  поведения на сайте.

запостил(а)
Parker
Вернуться назад
0

Смотрите также

А что там на главной? )))



Комментарии )))