В смартфонах Samsung может появиться датчик состояния окружающей среды - «Новости сети»
Аналитики объяснили, почему эксклюзивы PlayStation продаются на ПК всё хуже и хуже - «Новости сети»
Аналитики объяснили, почему эксклюзивы PlayStation продаются на ПК всё хуже и хуже - «Новости сети»
Российские компании начали замораживать рекламу в Telegram после заявления ФАС - «Новости сети»
Российские компании начали замораживать рекламу в Telegram после заявления ФАС - «Новости сети»
Samsung собирается предложить пользователям смартфонов Galaxy инструмент для вайб-кодинга - «Новости сети»
Samsung собирается предложить пользователям смартфонов Galaxy инструмент для вайб-кодинга - «Новости сети»
Apple сообщила о прекращении производства сразу 15 продуктов - «Новости сети»
Apple сообщила о прекращении производства сразу 15 продуктов - «Новости сети»
Дефицит — это «просто чудесно», заявил глава Nvidia Дженсен Хуанг - «Новости сети»
Дефицит — это «просто чудесно», заявил глава Nvidia Дженсен Хуанг - «Новости сети»
YouTube приступает к показу обязательной к просмотру рекламы на телевизорах по всему миру - «Новости сети»
YouTube приступает к показу обязательной к просмотру рекламы на телевизорах по всему миру - «Новости сети»
«Первый достойный наследник Disco Elysium»: в Steam вышла фэнтезийная ролевая игра Esoteric Ebb, вдохновлённая Planescape: Torment - «Новости сети»
«Первый достойный наследник Disco Elysium»: в Steam вышла фэнтезийная ролевая игра Esoteric Ebb, вдохновлённая Planescape: Torment - «Новости сети»
Google представила Gemini 3.1 Flash-Lite — «самую быструю и экономически эффективную модель семейства» - «Новости сети»
Google представила Gemini 3.1 Flash-Lite — «самую быструю и экономически эффективную модель семейства» - «Новости сети»
«Первое хорошее обновление за три года»: легендарная CS:GO вернулась в Steam к радости фанатов - «Новости сети»
«Первое хорошее обновление за три года»: легендарная CS:GO вернулась в Steam к радости фанатов - «Новости сети»
Seagate приступила к массовым поставкам жёстких дисков семейства Mozaic 4+, обеспечивающих ёмкость до 44 Тбайт - «Новости сети»
Seagate приступила к массовым поставкам жёстких дисков семейства Mozaic 4+, обеспечивающих ёмкость до 44 Тбайт - «Новости сети»
Новости мира Интернет » Новости » Новости мира Интернет » В смартфонах Samsung может появиться датчик состояния окружающей среды - «Новости сети»

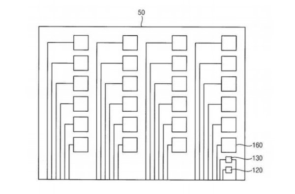
  1. Южнокорейская компания Samsung подала патентную заявку на новую разработку в мобильной сфере: речь идёт об интеграции в смартфоны и фаблеты датчика состояния окружающей среды.

  2. В смартфонах Samsung может появиться датчик состояния окружающей среды - «Новости сети»

  3. Современные смартфоны изобилуют самыми разнообразными сенсорами. К примеру, в оснащение аппарата Galaxy S8 входят акселерометр, барометр, сканер отпечатков пальцев, гироскоп, геомагнитный датчик, датчик сердечного ритма, датчик изображения сетчатки, а также датчики давления, приближения и освещённости.

  4. В скором времени этот и без того обширный список может пополнить сенсор, отвечающий за анализ качества воздуха. Предполагается, что такой датчик сможет улавливать частицы различного размера и анализировать их состав. На основе полученных данных будет делаться вывод о наличии в воздухе вредных примесей, а также, скажем, о концентрации углекислого газа.

  5. В смартфонах Samsung может появиться датчик состояния окружающей среды - «Новости сети»

  6. Традиционно в случае патентуемых разработок о планах по практическому внедрению решения ничего не сообщается. Но наблюдатели полагают, что новый сенсор может быть интегрирован в будущий флагманский смартфон Samsung — аппарат Galaxy S9, анонс которого ожидается в марте или апреле следующего года.

Южнокорейская компания Samsung подала патентную заявку на новую разработку в мобильной сфере: речь идёт об интеграции в смартфоны и фаблеты датчика состояния окружающей среды. Современные смартфоны изобилуют самыми разнообразными сенсорами. К примеру, в оснащение аппарата Galaxy S8 входят акселерометр, барометр, сканер отпечатков пальцев, гироскоп, геомагнитный датчик, датчик сердечного ритма, датчик изображения сетчатки, а также датчики давления, приближения и освещённости. В скором времени этот и без того обширный список может пополнить сенсор, отвечающий за анализ качества воздуха. Предполагается, что такой датчик сможет улавливать частицы различного размера и анализировать их состав. На основе полученных данных будет делаться вывод о наличии в воздухе вредных примесей, а также, скажем, о концентрации углекислого газа. Традиционно в случае патентуемых разработок о планах по практическому внедрению решения ничего не сообщается. Но наблюдатели полагают, что новый сенсор может быть интегрирован в будущий флагманский смартфон Samsung — аппарат Galaxy S9, анонс которого ожидается в марте или апреле следующего года.

Цитирование статьи, картинки - фото скриншот - Rambler News Service.
Иллюстрация к статье - Яндекс. Картинки.
Есть вопросы. Напишите нам.
Общие правила  поведения на сайте.

0

Смотрите также

А что там на главной? )))



Комментарии )))