✔Apple запатентовала систему защиты складного смартфона при падении - «Новости мира Интернет»
Как сообщает издание TechRadar, корпорация Apple оформила патентную заявку на «самоубирающийся дисплей и методы защиты экрана с помощью обнаружения падения». Так компания ищет способы защиты устройств со складным или сворачивающимся экраном при падении.
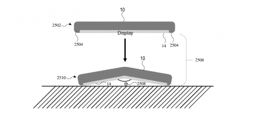
В патенте инженеры Apple указали, что устройство определяет падение с помощью встроенного акселерометра. Работать он будет таким образом: при превышении «заданных пределов ускорения» девайс со складным дисплеем должен успеть изменить угол шарнира для смещения удара на грани корпуса, а не на дисплей; при сворачиваемом экране конструкция должна оперативно активировать двигатели для сворачивания дисплея и уменьшения таким образом площади, на которую придется удар.
Источник изображения
Как и с другими патентами, нет гарантий того, что Apple использует в своих разработках подобную систему. Предположительно, компания таким образом защищает собственную идею от ее заимствования другими производителями. Слухи о работе Apple над складным устройством ходят как минимум с 2021 года. Компания не впервые патентует технологии, связанные с этой конструкцией дисплея, но дата выхода конечного продукта до сих пор держится в секрете.
Напомним, что ранее в компании также оформили патент на ремешок для Apple Watch, меняющий цвет: если его реализуют, то у пользователей появится возможность менять цвет или узор аксессуара, настраивать его под определенный стиль и время суток, а также получать уведомления.


