Apple запатентовала гибридный ноутбук с гнущимся корпусом - «Новости сети»
Китайские разработчики ИИ признают, что в ближайшие несколько лет им вряд ли удастся опередить США - «Новости сети»
Китайские разработчики ИИ признают, что в ближайшие несколько лет им вряд ли удастся опередить США - «Новости сети»
Google представила универсальный протокол UCP для организации покупок через чат-боты - «Новости сети»
Google представила универсальный протокол UCP для организации покупок через чат-боты - «Новости сети»
«Эта игра будет жить вечно»: фанатов The Witcher 3: Wild Hunt заворожила демонстрация амбициозного мода HD Reworked Project NextGen Edition 2026 - «Новости сети»
«Эта игра будет жить вечно»: фанатов The Witcher 3: Wild Hunt заворожила демонстрация амбициозного мода HD Reworked Project NextGen Edition 2026 - «Новости сети»
MSI выпустит сразу три версии сверхмощной GeForce RTX 5090 Lightning: X, Z и OCER — последняя в открытой продаже не появится - «Новости сети»
MSI выпустит сразу три версии сверхмощной GeForce RTX 5090 Lightning: X, Z и OCER — последняя в открытой продаже не появится - «Новости сети»
Власти Индии собираются требовать от производителей смартфонов раскрывать исходный программный код - «Новости сети»
Власти Индии собираются требовать от производителей смартфонов раскрывать исходный программный код - «Новости сети»
Larian ответила на вопросы игроков о Divinity и генеративном ИИ в разработке — новые подробности амбициозной RPG от создателей Baldur’s Gate 3 - «Новости сети»
Larian ответила на вопросы игроков о Divinity и генеративном ИИ в разработке — новые подробности амбициозной RPG от создателей Baldur’s Gate 3 - «Новости сети»
«Думал, быстрее умру, чем дождусь её»: спустя семь лет после «Мора» в Steam вышла Pathologic 3 - «Новости сети»
«Думал, быстрее умру, чем дождусь её»: спустя семь лет после «Мора» в Steam вышла Pathologic 3 - «Новости сети»
«Sea of Thieves, но в пустыне»: трейлер эвакуационного шутера Sand: Raiders of Sophie понравился игрокам - «Новости сети»
«Sea of Thieves, но в пустыне»: трейлер эвакуационного шутера Sand: Raiders of Sophie понравился игрокам - «Новости сети»
Учёные нашли способ превращения испорченного молока в материал для 3D-печати - «Новости сети»
Учёные нашли способ превращения испорченного молока в материал для 3D-печати - «Новости сети»
Adata и MSI показали «первые в мире» 4-ранговые модули памяти DDR5 CUDIMM на 128 Гбайт - «Новости сети»
Adata и MSI показали «первые в мире» 4-ранговые модули памяти DDR5 CUDIMM на 128 Гбайт - «Новости сети»
Новости мира Интернет » Новости » Новости мира Интернет » Apple запатентовала гибридный ноутбук с гнущимся корпусом - «Новости сети»


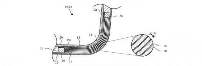
Вслед за многочисленными патентами, описывающими гибкие смартфоны и планшеты, Apple подала в Патентное бюро США заявку, в которой речь идёт о ноутбуке, выполненном в цельном корпусе и лишённом традиционного шарнирного механизма.



Информация сайта - «print-prime.ru»




Патент с порядковым номером 10,642,318, называющийся «Планарная петля в сборе», описывает гибкое устройство, весьма похожее на MacBook Pro. В нём говорится, что ноутбук получит вид цельного устройства и вместо привычного шарнира будет иметь гибкую часть корпуса между клавиатурой и экраном. Суть изобретения состоит в том, что сгибаемая часть, имеющая «регулируемую структуру изгиба» должна быть сформирована из «стопки слоёв, способных переходить из несжатого состояния в сжатое». По большей части патент описывает способы, с помощью каких данная возможность может быть реализована на практике. Однако в нём практически не описаны преимущества изгибаемого механизма перед привычным шарниром.



Информация сайта - «print-prime.ru»



Петли, использующиеся в ноутбуках Apple, являются высококачественным и отлично протестированным механизмом, который практически не вызывает никаких нареканий у пользователей. Но как поведёт себя запатентованный изгибаемый механизм тяжело представить, хотя он может оказаться даже лучше применяемого сейчас решения.



Информация сайта - «print-prime.ru»




Помимо этого, патент описывает возможность применения в устройствах с новым механизмом гибких дисплеев, что перекликается с одним из предыдущих патентов Apple, в котором речь идёт об устройстве с двумя дисплеями, один из которых используется для ввода, а второй для отображения контента.


В любом случае, даже если Apple выпустит подобное устройство на рынок, случится это только тогда, когда механизм будет полностью протестирован и пригоден для повседневной работы.
Цитирование статьи, картинки - фото скриншот - Rambler News Service.
Иллюстрация к статье - Яндекс. Картинки.
Есть вопросы. Напишите нам.
Общие правила  поведения на сайте.

Вслед за многочисленными патентами, описывающими гибкие смартфоны и планшеты, Apple подала в Патентное бюро США заявку, в которой речь идёт о ноутбуке, выполненном в цельном корпусе и лишённом традиционного шарнирного механизма. Информация сайта - «print-prime.ru» Патент с порядковым номером 10,642,318, называющийся «Планарная петля в сборе», описывает гибкое устройство, весьма похожее на MacBook Pro. В нём говорится, что ноутбук получит вид цельного устройства и вместо привычного шарнира будет иметь гибкую часть корпуса между клавиатурой и экраном. Суть изобретения состоит в том, что сгибаемая часть, имеющая «регулируемую структуру изгиба» должна быть сформирована из «стопки слоёв, способных переходить из несжатого состояния в сжатое». По большей части патент описывает способы, с помощью каких данная возможность может быть реализована на практике. Однако в нём практически не описаны преимущества изгибаемого механизма перед привычным шарниром. Информация сайта - «print-prime.ru» Петли, использующиеся в ноутбуках Apple, являются высококачественным и отлично протестированным механизмом, который практически не вызывает никаких нареканий у пользователей. Но как поведёт себя запатентованный изгибаемый механизм тяжело представить, хотя он может оказаться даже лучше применяемого сейчас решения. Информация сайта - «print-prime.ru» Помимо этого, патент описывает возможность применения в устройствах с новым механизмом гибких дисплеев, что перекликается с одним из предыдущих патентов Apple, в котором речь идёт об устройстве с двумя дисплеями, один из которых используется для ввода, а второй для отображения контента. В любом случае, даже если Apple выпустит подобное устройство на рынок, случится это только тогда, когда механизм будет полностью протестирован и пригоден для повседневной работы.

0

Смотрите также

А что там на главной? )))



Комментарии )))