✔Microsoft разрабатывает новый шарнир для складных планшетов - мобильные/сотовые телефоны, отзывы, сравнение, обзоры, характеристики на Hi-News.ru - «Новости сети»
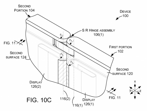
Слухи о том, что корпорация Microsoft работает над новым складным гаджетом или целой линейкой таких устройств, ходят довольно давно. Недавно же сайт MSPoweruser сообщил о том, что у Microsoft даже зарегистрирован патент, описывающий шарнир для устройства со складным дисплеем. В согнутом состоянии «Andromeda» сможет стать неким подобием ноутбука, одна часть дисплея которого будет работать в режиме экрана, тогда как вторая будет выступать в роли полноценной сенсорной клавиатуры. Если же гаджет разложить полностью и ровно, то изображение на обеих частях будет отображать единый пользовательский интерфейс.
Шарнир, запатентованный Microsoft, будет снабжён саморегулируемыми петлями, что позволит комфортно сгибать дисплей практически под любым углом без ущерба для устройства. Наличие патента вовсе не означает, что слухи о новом устройстве под кодовым названием «Andromeda» начинают обретать реальные очертания. Вполне возможно, что новый шарнир так никогда и не пригодится или же им просто оснастят новые модели планшетов Surface. Напомним, появится ли когда-нибудь мифический «SurfacePhone», тоже никто не знает.
Корпорация Microsoft — не единственный разработчик, изучающий возможность создания гибкого дисплея. На этом поприще уже неплохо преуспели и другие компании, в числе которых Samsung, LG, Sharp и многие другие. Тем не менее ни один из производителей не спешит массово выпускать гибкие гаджеты, пока ограничиваясь лишь прототипами для выставок.
