Microsoft приписывают намерение выпустить Surface Phone на чипе Snapdragon 845 - «Новости сети»
Хардкорный шутер Road to Vostok о выживании на границе Финляндии и России скоро ворвётся в ранний доступ Steam — дата выхода и новый трейлер - «Новости сети»
Хардкорный шутер Road to Vostok о выживании на границе Финляндии и России скоро ворвётся в ранний доступ Steam — дата выхода и новый трейлер - «Новости сети»
Google переполошила геймдев: выход ИИ-генератора миров Project Genie уронил акции крупнейших разработчиков - «Новости сети»
Google переполошила геймдев: выход ИИ-генератора миров Project Genie уронил акции крупнейших разработчиков - «Новости сети»
Уже три компании из Китая пробились в топ-20 крупнейших поставщиков оборудования для выпуска чипов - «Новости сети»
Уже три компании из Китая пробились в топ-20 крупнейших поставщиков оборудования для выпуска чипов - «Новости сети»
Качественные изображения Samsung Galaxy S26 и S26+ слили в Сеть до анонса - «Новости сети»
Качественные изображения Samsung Galaxy S26 и S26+ слили в Сеть до анонса - «Новости сети»
Финны начали варить пиво «на песке» — местная пивоварня установила песочный теплоаккумулятор - «Новости сети»
Финны начали варить пиво «на песке» — местная пивоварня установила песочный теплоаккумулятор - «Новости сети»
Gemini стал доступен в «Google картах» по всему миру для пеших и велосипедных прогулок - «Новости сети»
Gemini стал доступен в «Google картах» по всему миру для пеших и велосипедных прогулок - «Новости сети»
Капитализация Microsoft рухнула на $357 млрд после успешного отчёта и заявления гендира о популярности Copilot - «Новости сети»
Капитализация Microsoft рухнула на $357 млрд после успешного отчёта и заявления гендира о популярности Copilot - «Новости сети»
Чтобы не отвлекаться на чтение субтитров: для Stellar Blade вышла профессиональная русская озвучка - «Новости сети»
Чтобы не отвлекаться на чтение субтитров: для Stellar Blade вышла профессиональная русская озвучка - «Новости сети»
«Руки не держат, ноги дрожат»: атмосферный симулятор альпиниста Cairn оставил игроков и критиков в полном восторге - «Новости сети»
«Руки не держат, ноги дрожат»: атмосферный симулятор альпиниста Cairn оставил игроков и критиков в полном восторге - «Новости сети»
Выручка Apple взлетела почти на 16 % — iPhone принесли рекордные $85 млрд, несмотря на дефицит чипов - «Новости сети»
Выручка Apple взлетела почти на 16 % — iPhone принесли рекордные $85 млрд, несмотря на дефицит чипов - «Новости сети»
Новости мира Интернет » Новости » Новости мира Интернет » Microsoft приписывают намерение выпустить Surface Phone на чипе Snapdragon 845 - «Новости сети»


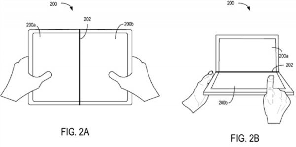
В Интернете появилась новая порция неофициальной информации о якобы проектируемом корпорацией Microsoft смартфоне или фаблете под брендом Surface.


Слухи о Surface Phone гуляют в Сети уже не один год. В разное время аппарату приписывали использование процессора Intel Atom x3 (SoFIA) и Qualcomm Snapdragon 835, а также сенсорного дисплея с поддержкой перьевого ввода.


Новые данные, подкреплённые иллюстрациями из патентной документации, говорят о том, что Microsoft разрабатывает гаджет со складной конструкцией в виде книжки. На обеих половинках устройства, вероятно, расположатся сенсорные дисплеи.


Проект якобы носит кодовое имя Andromeda. Редмондский гигант, по сообщениям веб-источников, уже начал знакомить партнёров с ранними прототипами нового мобильного аппарата.


«Сердцем» коммерческой версии Surface Phone может стать процессор Qualcomm Snapdragon 845, который содержит восемь ядер Kryo 385 с тактовой частотой до 2,8 ГГц, графический контроллер Adreno 630 и модем Snapdragon X20 LTE со скоростью передачи данных до 1,2 Гбит/с.


В случае появления на коммерческом рынке Surface Phone будет использовать операционную систему Windows. Корпорация Microsoft эти сведения, само собой, не подтверждает.

В Интернете появилась новая порция неофициальной информации о якобы проектируемом корпорацией Microsoft смартфоне или фаблете под брендом Surface. Слухи о Surface Phone гуляют в Сети уже не один год. В разное время аппарату приписывали использование процессора Intel Atom x3 (SoFIA) и Qualcomm Snapdragon 835, а также сенсорного дисплея с поддержкой перьевого ввода. Новые данные, подкреплённые иллюстрациями из патентной документации, говорят о том, что Microsoft разрабатывает гаджет со складной конструкцией в виде книжки. На обеих половинках устройства, вероятно, расположатся сенсорные дисплеи. Проект якобы носит кодовое имя Andromeda. Редмондский гигант, по сообщениям веб-источников, уже начал знакомить партнёров с ранними прототипами нового мобильного аппарата. «Сердцем» коммерческой версии Surface Phone может стать процессор Qualcomm Snapdragon 845, который содержит восемь ядер Kryo 385 с тактовой частотой до 2,8 ГГц, графический контроллер Adreno 630 и модем Snapdragon X20 LTE со скоростью передачи данных до 1,2 Гбит/с. В случае появления на коммерческом рынке Surface Phone будет использовать операционную систему Windows. Корпорация Microsoft эти сведения, само собой, не подтверждает.

Цитирование статьи, картинки - фото скриншот - Rambler News Service.
Иллюстрация к статье - Яндекс. Картинки.
Есть вопросы. Напишите нам.
Общие правила  поведения на сайте.

0

Смотрите также

А что там на главной? )))



Комментарии )))