В Samsung придумали гибкий смартфон с оригинальной системой складывания - «Новости сети»
Китайские разработчики ИИ признают, что в ближайшие несколько лет им вряд ли удастся опередить США - «Новости сети»
Китайские разработчики ИИ признают, что в ближайшие несколько лет им вряд ли удастся опередить США - «Новости сети»
Google представила универсальный протокол UCP для организации покупок через чат-боты - «Новости сети»
Google представила универсальный протокол UCP для организации покупок через чат-боты - «Новости сети»
«Эта игра будет жить вечно»: фанатов The Witcher 3: Wild Hunt заворожила демонстрация амбициозного мода HD Reworked Project NextGen Edition 2026 - «Новости сети»
«Эта игра будет жить вечно»: фанатов The Witcher 3: Wild Hunt заворожила демонстрация амбициозного мода HD Reworked Project NextGen Edition 2026 - «Новости сети»
MSI выпустит сразу три версии сверхмощной GeForce RTX 5090 Lightning: X, Z и OCER — последняя в открытой продаже не появится - «Новости сети»
MSI выпустит сразу три версии сверхмощной GeForce RTX 5090 Lightning: X, Z и OCER — последняя в открытой продаже не появится - «Новости сети»
Власти Индии собираются требовать от производителей смартфонов раскрывать исходный программный код - «Новости сети»
Власти Индии собираются требовать от производителей смартфонов раскрывать исходный программный код - «Новости сети»
Larian ответила на вопросы игроков о Divinity и генеративном ИИ в разработке — новые подробности амбициозной RPG от создателей Baldur’s Gate 3 - «Новости сети»
Larian ответила на вопросы игроков о Divinity и генеративном ИИ в разработке — новые подробности амбициозной RPG от создателей Baldur’s Gate 3 - «Новости сети»
«Думал, быстрее умру, чем дождусь её»: спустя семь лет после «Мора» в Steam вышла Pathologic 3 - «Новости сети»
«Думал, быстрее умру, чем дождусь её»: спустя семь лет после «Мора» в Steam вышла Pathologic 3 - «Новости сети»
«Sea of Thieves, но в пустыне»: трейлер эвакуационного шутера Sand: Raiders of Sophie понравился игрокам - «Новости сети»
«Sea of Thieves, но в пустыне»: трейлер эвакуационного шутера Sand: Raiders of Sophie понравился игрокам - «Новости сети»
Учёные нашли способ превращения испорченного молока в материал для 3D-печати - «Новости сети»
Учёные нашли способ превращения испорченного молока в материал для 3D-печати - «Новости сети»
Adata и MSI показали «первые в мире» 4-ранговые модули памяти DDR5 CUDIMM на 128 Гбайт - «Новости сети»
Adata и MSI показали «первые в мире» 4-ранговые модули памяти DDR5 CUDIMM на 128 Гбайт - «Новости сети»
Новости мира Интернет » Новости » Новости мира Интернет » В Samsung придумали гибкий смартфон с оригинальной системой складывания - «Новости сети»


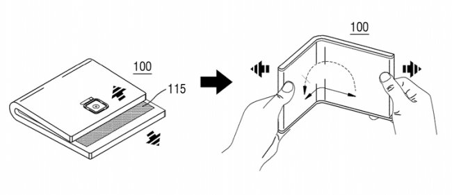
Управление США по патентам и торговым маркам (USPTO) в первых числах текущего месяца выдало компании Samsung патент на очередной смартфон, оснащённый гибким дисплеем.


На этот раз речь идёт об аппарате в формате классической «раскладушки», у которого вытянутый по вертикали экран складывается внутрь корпуса. Это защищает панель от повреждений во время повседневной эксплуатации.


При этом имеется любопытная особенность. Устройство может складываться не только посередине, но и со смещением. Во втором случае остаётся видна небольшая часть дисплея: здесь могут отображаться различные уведомления, полезная информация, сообщения и пр.




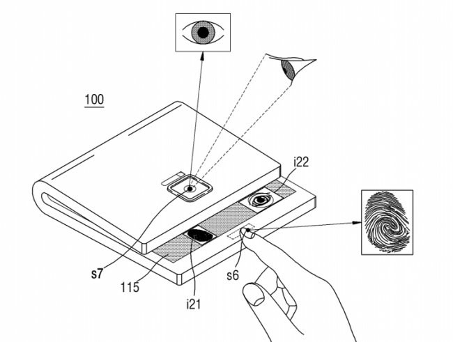
В тыльной части расположена одинарная основная камера. Под экраном могут быть установлены фронтальная камера и (или) дактилоскопический сканер. Таким образом, смартфон сможет осуществлять идентификацию пользователей по изображению лица и отпечаткам пальцев.


Заявка на патент была направлена в марте прошлого года. Не исключено, что смартфон с описанной конструкцией, но некоторыми техническими изменениями, например, с добавлением многомодульной камеры, в перспективе появится в ассортименте южнокорейского гиганта.
Цитирование статьи, картинки - фото скриншот - Rambler News Service.
Иллюстрация к статье - Яндекс. Картинки.
Есть вопросы. Напишите нам.
Общие правила  поведения на сайте.

Управление США по патентам и торговым маркам (USPTO) в первых числах текущего месяца выдало компании Samsung патент на очередной смартфон, оснащённый гибким дисплеем. На этот раз речь идёт об аппарате в формате классической «раскладушки», у которого вытянутый по вертикали экран складывается внутрь корпуса. Это защищает панель от повреждений во время повседневной эксплуатации. При этом имеется любопытная особенность. Устройство может складываться не только посередине, но и со смещением. Во втором случае остаётся видна небольшая часть дисплея: здесь могут отображаться различные уведомления, полезная информация, сообщения и пр. В тыльной части расположена одинарная основная камера. Под экраном могут быть установлены фронтальная камера и (или) дактилоскопический сканер. Таким образом, смартфон сможет осуществлять идентификацию пользователей по изображению лица и отпечаткам пальцев. Заявка на патент была направлена в марте прошлого года. Не исключено, что смартфон с описанной конструкцией, но некоторыми техническими изменениями, например, с добавлением многомодульной камеры, в перспективе появится в ассортименте южнокорейского гиганта.

запостил(а)
James
Вернуться назад
0

Смотрите также

А что там на главной? )))



Комментарии )))