✔Все что известно о новом мобильном девайсе от Microsoft - «Windows»
В конце прошлой недели ряд авторитетных зарубежных изданий поделились информацией о новом концептуальном продукте от Microsoft — планшете-трансформере. Как отмечалось, эта разработка будет работать на Windows 10 с Windows Core OS и Cshell, которая позволяет подстраивать масштаб системы под размеры определенных устройств. То есть в развернутом виде это будет планшет, а в свернутом — смартфон.
Разработчики заявляют что, функционал мобильного телефона не будет приоритетным. Вместо этого они подчеркнули, что ноу-хау будет являть собой что-то вроде цифровой записной книжки, но явно более модернизированным и функционально-адаптивным устройством по сравнению со стандартным планшетом.
Новинка будет поддерживать работу со стилусом и рукописным вводом, на которые будет сделан основной упор при работе с девайсом. Так при включении будет запускаться приложение, связанное с OneNote. А вот начальный экран, меню, а так же стандартные приложения в скорее всего никуда не денутся, и останутся в довольно классическом представлении о Windows.
Кстати помните устройство которое недавно "засветила" Дона Саркар? Очень похоже на данный прототип.
Целевая аудитория устройства?
По нашему субъективному мнению основными поклонниками данного форм-фактора устройств станут люди, которые делают большое количество заметок на протяжении дня. Журналисты, писатели, преподаватели и студенты. Они должны по достоинству оценить компактность и возможности для быстрого ввода текста.
.u23016f96fbc019732ad09ad86b5b544e { padding:0px; margin: 0; padding-top:1em!important; padding-bottom:1em!important; width:100%; display: block; font-weight:bold; background-color:#ECF0F1; border:0!important; border-left:4px solid inherit!important; box-shadow: 0 1px 2px rgba(0, 0, 0, 0.17); -moz-box-shadow: 0 1px 2px rgba(0, 0, 0, 0.17); -o-box-shadow: 0 1px 2px rgba(0, 0, 0, 0.17); -webkit-box-shadow: 0 1px 2px rgba(0, 0, 0, 0.17); text-decoration:none; .u23016f96fbc019732ad09ad86b5b544e:active, .u23016f96fbc019732ad09ad86b5b544e:hover { opacity: 1; transition: opacity 250ms; webkit-transition: opacity 250ms; text-decoration:none; .u23016f96fbc019732ad09ad86b5b544e { transition: background-color 250ms; webkit-transition: background-color 250ms; opacity: 0.5; transition: opacity 250ms; webkit-transition: opacity 250ms; .u23016f96fbc019732ad09ad86b5b544e .ctaText { font-weight:bold; color:#2980B9; text-decoration:none; font-size: 16px; .u23016f96fbc019732ad09ad86b5b544e .postTitle { color:#34495E; text-decoration: underline!important; font-size: 16px; .u23016f96fbc019732ad09ad86b5b544e:hover .postTitle { text-decoration: underline!important; Вам может быть интересно: Windows 10 на ARM
Майкрософт так же заметили, что не собираются конкурировать с Iphone или Android, поскольку тот рынок уже упущен, а они понимают необходимость формирования нового рынка.
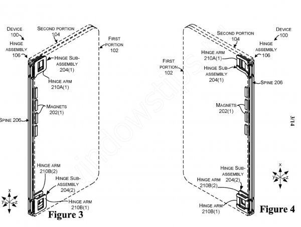
Вот один из самых интересных концептов будущего устройства
Устройство должно появится в 2018 году, однако точных дат релиза и данных о примерной стоимости пока нет. Кроме того, есть сомнения, что Майкрософт может и вовсе отменить презентацию этой разработки, поскольку ранее компания себе это уже позволяла.
Вам может быть интересно:
- Andromeda OS – скрытый проект Microsoft
- Windows Mixed Reality — новое представление
- Сборка 17025
- Считаем деньги: Microsoft подвела итоги финансового квартала
Присоединяйтесь к нам в Telegram!@wtips
