✔Apple запатентовала ткань, чувствительную к прикосновениям - «Новости мира Интернет»
Компания Apple получила патент на разработку, названную «сенсорной тканью». Она чувствительна к прикосновениям, использовать ее предполагается для встраивания элементов управления в умную одежду, сумки и мебель.
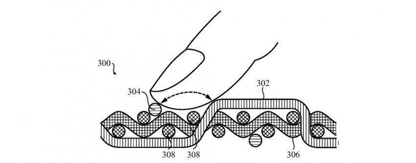
Новинка реализуется в рамках проекта со встроенными в ткани датчиками. Это решение позволит фиксировать действия пользователя путем проведения пальцем по поверхности.
Источник: патентная заявка Apple (здесь и далее)
В компании поясняют, что несмотря на широкое распространение сенсорных панелей и экранов, все они практически изготавливаются с использованием жестких материалов или жесткой листовой подложки. В Хабре пишут, что это же ограничивает такие сенсоры определенными форм-факторами.
В патенте Apple описываются несколько способов использования «сенсорного текстиля» для добавления средств управления «множеству потребительских товаров». Однако в качестве яркого примера на иллюстрациях можно увидеть только то, что пользователь прикасается к чему-то, похожему на ремешок Apple Watch.
«Устройства и методы, описанные в патенте, могут быть применены к различным текстильным материалам, которые включаются в потребительскую электронную продукцию, предметы одежды, аксессуары для одежды, сумки, предметы обивки, домашний текстиль и другие изделия», – добавили в Apple.
Читайте также
В компьютерах Apple может появиться Face ID



