Горячая штучка: комплект разработчика PlayStation 5 использует 6 вентиляторов охлаждения - «Новости сети»
Assassin's Creed Shadows пошла по пути Cyberpunk 2077 — Ubisoft отменила второе дополнение к игре - «Новости сети»
Assassin's Creed Shadows пошла по пути Cyberpunk 2077 — Ubisoft отменила второе дополнение к игре - «Новости сети»
«С тех пор игра сильно изменилась»: Ubisoft отреагировала на утечку внутренней презентации ремейка Prince of Persia: The Sands of Time - «Новости сети»
«С тех пор игра сильно изменилась»: Ubisoft отреагировала на утечку внутренней презентации ремейка Prince of Persia: The Sands of Time - «Новости сети»
Google урезала бесплатный доступ к Gemini 3 Pro и Nano Banana Pro из-за «высокого спроса» - «Новости сети»
Google урезала бесплатный доступ к Gemini 3 Pro и Nano Banana Pro из-за «высокого спроса» - «Новости сети»
Аналитики раскрыли продажи Escape from Tarkov в Steam за первые две недели с релиза - «Новости сети»
Аналитики раскрыли продажи Escape from Tarkov в Steam за первые две недели с релиза - «Новости сети»
Так дальше продолжаться не может: штаб-квартира Nexperia призвала китайское подразделение возобновить поставки автомобильных чипов - «Новости сети»
Так дальше продолжаться не может: штаб-квартира Nexperia призвала китайское подразделение возобновить поставки автомобильных чипов - «Новости сети»
После скандала Character.AI закрыла свободные чаты для детей — вместо них появились безопасные «Истории» - «Новости сети»
После скандала Character.AI закрыла свободные чаты для детей — вместо них появились безопасные «Истории» - «Новости сети»
Вдохновлённый Dead Space хоррор Cronos: The New Dawn продался в количестве 500 тыс. копий менее чем за три месяца после выхода - «Новости сети»
Вдохновлённый Dead Space хоррор Cronos: The New Dawn продался в количестве 500 тыс. копий менее чем за три месяца после выхода - «Новости сети»
Оригинал учредительных документов Apple 1976 года уйдёт с молотка — за лот хотят выручить до $4 млн - «Новости сети»
Оригинал учредительных документов Apple 1976 года уйдёт с молотка — за лот хотят выручить до $4 млн - «Новости сети»
Сооснователь OpenAI Илья Суцкевер предупредил, что развитие ИИ экстенсивным методом себя изжило - «Новости сети»
Сооснователь OpenAI Илья Суцкевер предупредил, что развитие ИИ экстенсивным методом себя изжило - «Новости сети»
Dell предупредила о стагнации рынка ПК — массовый переход на Windows 11 забуксовал - «Новости сети»
Dell предупредила о стагнации рынка ПК — массовый переход на Windows 11 забуксовал - «Новости сети»
Новости мира Интернет » Новости » Новости мира Интернет » Горячая штучка: комплект разработчика PlayStation 5 использует 6 вентиляторов охлаждения - «Новости сети»


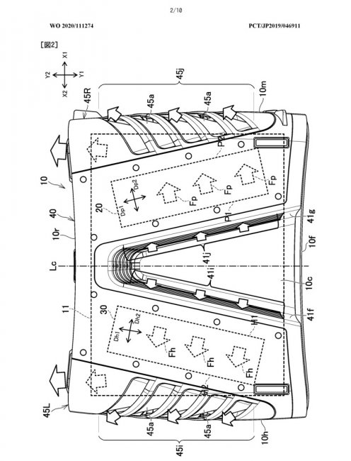
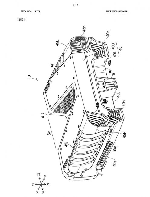
В базе данных Всемирной организации интеллектуальной собственности (WIPO) размещён патент под названием «Электронное устройство». Заявка на него была подана компанией Sony Interactive Entertainment 29 ноября 2019 года. В нём описывается и демонстрируется система охлаждения комплекта разработчика PlayStation 5.


Устройство с аналогичным внешним видом мы могли видеть на фотографиях, которые появились в Сети ещё в конце прошлого года. Схематичные изображения устройства в патенте демонстрируют уже знакомую V-образную форму.

Кроме того, в документации демонстрируется схема направления движения горячего воздуха, который отводится за пределы устройства его системой охлаждения.



Также указывается, что комплект разработчика PS5 использует «множество вентиляторов охлаждения», которые направляют воздух к радиатору охлаждения центрального вычислительного и графического процессоров. Описание гласит, что воздух сначала проходит через этот компонент, потом двигается через блок питания, а затем выводится наружу.



На одном из изображений можно увидеть целых шесть вентиляторов. И именно благодаря этому можно сделать вывод, что Sony действительно могла столкнуться с серьёзной проблемой охлаждения приставки при её разработке, как об этом ранее сообщали слухи.



Если учесть, что PlayStation 5 использует восьмиядерный процессор AMD с ядрами Zen 2, а также GPU с микроархитектурой RDNA 2, частотой выше 2 ГГц и производительность 10,28 Тфлопс, то вполне очевидна необходимость в мощной системе охлаждения консоли. Ранние слухи даже говорили о том, что серьёзные проблемы с охлаждением якобы заставили Sony пересмотреть финальный дизайн консоли.





Так ли это на самом деле — пока неизвестно. Но наличие патента комплекта разработчика PS5 подтверждает теорию о том, что для Sony вопрос охлаждения оказался одним из самых проблематичных с самого начала разработки приставки. Кроме того, он согласуется с недавними слухами о том, что PlayStation 5 в два раза толще нынешней PS4 Pro и имеет необычную особенность. Надеемся, что в последнем случае речь не идёт о системе охлаждения из шести вентиляторов.
Цитирование статьи, картинки - фото скриншот - Rambler News Service.
Иллюстрация к статье - Яндекс. Картинки.
Есть вопросы. Напишите нам.
Общие правила  поведения на сайте.

В базе данных Всемирной организации интеллектуальной собственности (WIPO) размещён патент под названием «Электронное устройство». Заявка на него была подана компанией Sony Interactive Entertainment 29 ноября 2019 года. В нём описывается и демонстрируется система охлаждения комплекта разработчика PlayStation 5. Устройство с аналогичным внешним видом мы могли видеть на фотографиях, которые появились в Сети ещё в конце прошлого года. Схематичные изображения устройства в патенте демонстрируют уже знакомую V-образную форму. Кроме того, в документации демонстрируется схема направления движения горячего воздуха, который отводится за пределы устройства его системой охлаждения. Также указывается, что комплект разработчика PS5 использует «множество вентиляторов охлаждения», которые направляют воздух к радиатору охлаждения центрального вычислительного и графического процессоров. Описание гласит, что воздух сначала проходит через этот компонент, потом двигается через блок питания, а затем выводится наружу. На одном из изображений можно увидеть целых шесть вентиляторов. И именно благодаря этому можно сделать вывод, что Sony действительно могла столкнуться с серьёзной проблемой охлаждения приставки при её разработке, как об этом ранее сообщали слухи. Если учесть, что PlayStation 5 использует восьмиядерный процессор AMD с ядрами Zen 2, а также GPU с микроархитектурой RDNA 2, частотой выше 2 ГГц и производительность 10,28 Тфлопс, то вполне очевидна необходимость в мощной системе охлаждения консоли. Ранние слухи даже говорили о том, что серьёзные проблемы с охлаждением якобы заставили Sony пересмотреть финальный дизайн консоли. Так ли это на самом деле — пока неизвестно. Но наличие патента комплекта разработчика PS5 подтверждает теорию о том, что для Sony вопрос охлаждения оказался одним из самых проблематичных с самого начала разработки приставки. Кроме того, он согласуется с недавними слухами о том, что PlayStation 5 в два раза толще нынешней PS4 Pro и имеет необычную особенность. Надеемся, что в последнем случае речь не идёт о системе охлаждения из шести вентиляторов.

0

Смотрите также

А что там на главной? )))



Комментарии )))