HMD Global приостановила разработку гибкого смартфона Nokia - «Новости сети»
Хардкорный шутер Road to Vostok о выживании на границе Финляндии и России скоро ворвётся в ранний доступ Steam — дата выхода и новый трейлер - «Новости сети»
Хардкорный шутер Road to Vostok о выживании на границе Финляндии и России скоро ворвётся в ранний доступ Steam — дата выхода и новый трейлер - «Новости сети»
Google переполошила геймдев: выход ИИ-генератора миров Project Genie уронил акции крупнейших разработчиков - «Новости сети»
Google переполошила геймдев: выход ИИ-генератора миров Project Genie уронил акции крупнейших разработчиков - «Новости сети»
Уже три компании из Китая пробились в топ-20 крупнейших поставщиков оборудования для выпуска чипов - «Новости сети»
Уже три компании из Китая пробились в топ-20 крупнейших поставщиков оборудования для выпуска чипов - «Новости сети»
Качественные изображения Samsung Galaxy S26 и S26+ слили в Сеть до анонса - «Новости сети»
Качественные изображения Samsung Galaxy S26 и S26+ слили в Сеть до анонса - «Новости сети»
Финны начали варить пиво «на песке» — местная пивоварня установила песочный теплоаккумулятор - «Новости сети»
Финны начали варить пиво «на песке» — местная пивоварня установила песочный теплоаккумулятор - «Новости сети»
Gemini стал доступен в «Google картах» по всему миру для пеших и велосипедных прогулок - «Новости сети»
Gemini стал доступен в «Google картах» по всему миру для пеших и велосипедных прогулок - «Новости сети»
Капитализация Microsoft рухнула на $357 млрд после успешного отчёта и заявления гендира о популярности Copilot - «Новости сети»
Капитализация Microsoft рухнула на $357 млрд после успешного отчёта и заявления гендира о популярности Copilot - «Новости сети»
Чтобы не отвлекаться на чтение субтитров: для Stellar Blade вышла профессиональная русская озвучка - «Новости сети»
Чтобы не отвлекаться на чтение субтитров: для Stellar Blade вышла профессиональная русская озвучка - «Новости сети»
«Руки не держат, ноги дрожат»: атмосферный симулятор альпиниста Cairn оставил игроков и критиков в полном восторге - «Новости сети»
«Руки не держат, ноги дрожат»: атмосферный симулятор альпиниста Cairn оставил игроков и критиков в полном восторге - «Новости сети»
Выручка Apple взлетела почти на 16 % — iPhone принесли рекордные $85 млрд, несмотря на дефицит чипов - «Новости сети»
Выручка Apple взлетела почти на 16 % — iPhone принесли рекордные $85 млрд, несмотря на дефицит чипов - «Новости сети»
Новости мира Интернет » Новости » Новости мира Интернет » HMD Global приостановила разработку гибкого смартфона Nokia - «Новости сети»


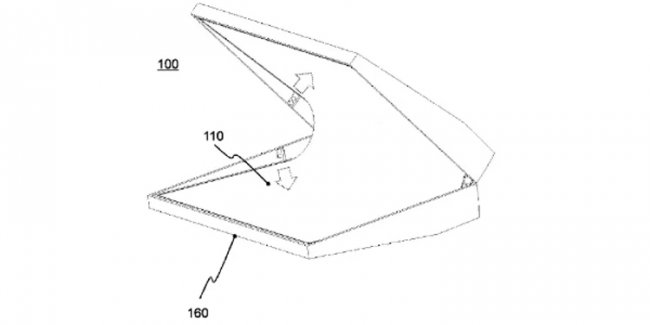
Финская компания HMD Global, по сообщениям интернет-источников, изучает возможность выхода на рынок смартфонов с гибким дисплеем. Не исключено, что подобный аппарат в обозримом будущем выйдет под брендом Nokia.



Информация сайта - «print-prime.ru»




Утверждается, что HMD Global создала несколько прототипов телефонов с гибкой конструкцией для внутреннего тестирования. Однако сейчас разработка подобных устройств приостановлена.


Причина заморозки проекта — сомнения в коммерческом успехе гибких смартфонов. Дело в том, что пока такие аппараты весьма дороги; к тому же у многих потенциальных покупателей возникают сомнения в надёжности механизма складывания и долговечности собственно гибкого экрана.


В то же время отмечается, что полностью от идеи создания гибких аппаратов компания HMD Global не отказывается. Работы над подобными устройствами могут быть возобновлены в подходящее время.


По оценкам Counterpoint Research, в первом квартале текущего года HMD Global удалось реализовать только около 1,7 млн смартфонов. В годовом исчислении продажи рухнули практически в полтора раза — на 45,2 %. По сути, отгрузки сократились до уровня 2017 года, что отчасти объясняется негативным влиянием пандемии на мировой рынок смартфонов.

Финская компания HMD Global, по сообщениям интернет-источников, изучает возможность выхода на рынок смартфонов с гибким дисплеем. Не исключено, что подобный аппарат в обозримом будущем выйдет под брендом Nokia. Информация сайта - «print-prime.ru» Утверждается, что HMD Global создала несколько прототипов телефонов с гибкой конструкцией для внутреннего тестирования. Однако сейчас разработка подобных устройств приостановлена. Причина заморозки проекта — сомнения в коммерческом успехе гибких смартфонов. Дело в том, что пока такие аппараты весьма дороги; к тому же у многих потенциальных покупателей возникают сомнения в надёжности механизма складывания и долговечности собственно гибкого экрана. В то же время отмечается, что полностью от идеи создания гибких аппаратов компания HMD Global не отказывается. Работы над подобными устройствами могут быть возобновлены в подходящее время. По оценкам Counterpoint Research, в первом квартале текущего года HMD Global удалось реализовать только около 1,7 млн смартфонов. В годовом исчислении продажи рухнули практически в полтора раза — на 45,2 %. По сути, отгрузки сократились до уровня 2017 года, что отчасти объясняется негативным влиянием пандемии на мировой рынок смартфонов.

Цитирование статьи, картинки - фото скриншот - Rambler News Service.
Иллюстрация к статье - Яндекс. Картинки.
Есть вопросы. Напишите нам.
Общие правила  поведения на сайте.

0

Смотрите также

А что там на главной? )))



Комментарии )))