Смарт-часы Apple могут получить функцию Face ID - «Новости сети»
Китайские разработчики ИИ признают, что в ближайшие несколько лет им вряд ли удастся опередить США - «Новости сети»
Китайские разработчики ИИ признают, что в ближайшие несколько лет им вряд ли удастся опередить США - «Новости сети»
Google представила универсальный протокол UCP для организации покупок через чат-боты - «Новости сети»
Google представила универсальный протокол UCP для организации покупок через чат-боты - «Новости сети»
«Эта игра будет жить вечно»: фанатов The Witcher 3: Wild Hunt заворожила демонстрация амбициозного мода HD Reworked Project NextGen Edition 2026 - «Новости сети»
«Эта игра будет жить вечно»: фанатов The Witcher 3: Wild Hunt заворожила демонстрация амбициозного мода HD Reworked Project NextGen Edition 2026 - «Новости сети»
MSI выпустит сразу три версии сверхмощной GeForce RTX 5090 Lightning: X, Z и OCER — последняя в открытой продаже не появится - «Новости сети»
MSI выпустит сразу три версии сверхмощной GeForce RTX 5090 Lightning: X, Z и OCER — последняя в открытой продаже не появится - «Новости сети»
Власти Индии собираются требовать от производителей смартфонов раскрывать исходный программный код - «Новости сети»
Власти Индии собираются требовать от производителей смартфонов раскрывать исходный программный код - «Новости сети»
Larian ответила на вопросы игроков о Divinity и генеративном ИИ в разработке — новые подробности амбициозной RPG от создателей Baldur’s Gate 3 - «Новости сети»
Larian ответила на вопросы игроков о Divinity и генеративном ИИ в разработке — новые подробности амбициозной RPG от создателей Baldur’s Gate 3 - «Новости сети»
«Думал, быстрее умру, чем дождусь её»: спустя семь лет после «Мора» в Steam вышла Pathologic 3 - «Новости сети»
«Думал, быстрее умру, чем дождусь её»: спустя семь лет после «Мора» в Steam вышла Pathologic 3 - «Новости сети»
«Sea of Thieves, но в пустыне»: трейлер эвакуационного шутера Sand: Raiders of Sophie понравился игрокам - «Новости сети»
«Sea of Thieves, но в пустыне»: трейлер эвакуационного шутера Sand: Raiders of Sophie понравился игрокам - «Новости сети»
Учёные нашли способ превращения испорченного молока в материал для 3D-печати - «Новости сети»
Учёные нашли способ превращения испорченного молока в материал для 3D-печати - «Новости сети»
Adata и MSI показали «первые в мире» 4-ранговые модули памяти DDR5 CUDIMM на 128 Гбайт - «Новости сети»
Adata и MSI показали «первые в мире» 4-ранговые модули памяти DDR5 CUDIMM на 128 Гбайт - «Новости сети»
Новости мира Интернет » Новости » Новости мира Интернет » Смарт-часы Apple могут получить функцию Face ID - «Новости сети»


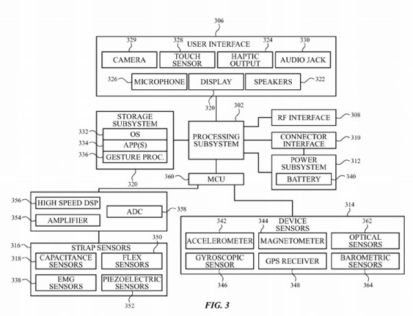
Управление США по патентам и торговым маркам (USPTO) рассекретило патентную заявку Apple на очередную разработку в области мобильных устройств.


В документе речь идёт об «умных» наручных часах. «Яблочная» империя в числе прочего предлагает интегрировать в ремешки для смарт-хронометров различные сенсоры.


Это могут быть, скажем, датчики для регистрации электрической активности мышц. Такая информация позволит изучать двигательные функции, оценивать общую активность пользователя и пр.


В патентной заявке Apple также упомянуто наличие камеры в смарт-часах. Наблюдатели полагают, что компания может реализовать функцию Face ID для идентификации пользователей по лицу.


Напомним, что система Face ID применяется в смартфоне iPhone X. Данная технология позволяет разблокировать аппарат, выполнять аутентификацию и оплачивать покупки, используя в качестве пароля модель лица. Face ID работает с применением камеры TrueDepth: на лицо пользователя проецируются более 30 000 невидимых инфракрасных точек, а затем на основе полученных данных создаётся его точная структурная карта.


Если подобная функция появится в смарт-часах Apple, пользователи смогут осуществлять платежи с идентификацией при помощи сканирования лица.


Заявка на патент была подана в сентябре прошлого года. О возможных сроках практической реализации предложенных решений ничего не сообщается.
Цитирование статьи, картинки - фото скриншот - Rambler News Service.
Иллюстрация к статье - Яндекс. Картинки.
Есть вопросы. Напишите нам.
Общие правила  поведения на сайте.

Управление США по патентам и торговым маркам (USPTO) рассекретило патентную заявку Apple на очередную разработку в области мобильных устройств. В документе речь идёт об «умных» наручных часах. «Яблочная» империя в числе прочего предлагает интегрировать в ремешки для смарт-хронометров различные сенсоры. Это могут быть, скажем, датчики для регистрации электрической активности мышц. Такая информация позволит изучать двигательные функции, оценивать общую активность пользователя и пр. В патентной заявке Apple также упомянуто наличие камеры в смарт-часах. Наблюдатели полагают, что компания может реализовать функцию Face ID для идентификации пользователей по лицу. Напомним, что система Face ID применяется в смартфоне iPhone X. Данная технология позволяет разблокировать аппарат, выполнять аутентификацию и оплачивать покупки, используя в качестве пароля модель лица. Face ID работает с применением камеры TrueDepth: на лицо пользователя проецируются более 30 000 невидимых инфракрасных точек, а затем на основе полученных данных создаётся его точная структурная карта. Если подобная функция появится в смарт-часах Apple, пользователи смогут осуществлять платежи с идентификацией при помощи сканирования лица. Заявка на патент была подана в сентябре прошлого года. О возможных сроках практической реализации предложенных решений ничего не сообщается.

Смотрите также

А что там на главной? )))



Комментарии )))