Canon предлагает встраивать дактилоскопические сканеры в фотокамеры и объективы - «Новости сети»
АЭС — это долго: в Казахстане построят «долину ЦОД» с питанием от угольных электростанций - «Новости сети»
АЭС — это долго: в Казахстане построят «долину ЦОД» с питанием от угольных электростанций - «Новости сети»
«Да здравствует Принц!»: в ответ на отмену ремейка GOG спасёт классическую Prince of Persia: The Sands of Time от цифрового небытия - «Новости сети»
«Да здравствует Принц!»: в ответ на отмену ремейка GOG спасёт классическую Prince of Persia: The Sands of Time от цифрового небытия - «Новости сети»
«Google Фото» научились превращать фотографии пользователей в мемы с помощью ИИ - «Новости сети»
«Google Фото» научились превращать фотографии пользователей в мемы с помощью ИИ - «Новости сети»
Проблемное январское обновление Windows 11 отказывается удаляться — два способа вернуть систему в норму - «Новости сети»
Проблемное январское обновление Windows 11 отказывается удаляться — два способа вернуть систему в норму - «Новости сети»
В Китае придумали, как обмануть Вселенную и занедорого зажечь «искусственное солнце» на Земле - «Новости сети»
В Китае придумали, как обмануть Вселенную и занедорого зажечь «искусственное солнце» на Земле - «Новости сети»
Россияне оспорили отказ суда рассматривать иск о блокировке звонков в Telegram и WhatsApp - «Новости сети»
Россияне оспорили отказ суда рассматривать иск о блокировке звонков в Telegram и WhatsApp - «Новости сети»
Sony анонсировала первый за семь лет проигрыватели виниловых пластинок - «Новости сети»
Sony анонсировала первый за семь лет проигрыватели виниловых пластинок - «Новости сети»
Intel упускает миллиарды из-за дефицита процессоров и производственных проблем — акции рухнули на 11 % - «Новости сети»
Intel упускает миллиарды из-за дефицита процессоров и производственных проблем — акции рухнули на 11 % - «Новости сети»
Илон Маск пообещал, что роботы Tesla Optimus точно-точно поступят в продажу в конце 2027 года - «Новости сети»
Илон Маск пообещал, что роботы Tesla Optimus точно-точно поступят в продажу в конце 2027 года - «Новости сети»
Луна подождёт: третий пуск ракеты Blue Origin New Glenn в конце февраля доставит спутник главного конкурента Starlink - «Новости сети»
Луна подождёт: третий пуск ракеты Blue Origin New Glenn в конце февраля доставит спутник главного конкурента Starlink - «Новости сети»
Новости мира Интернет » Новости » Новости мира Интернет » Canon предлагает встраивать дактилоскопические сканеры в фотокамеры и объективы - «Новости сети»


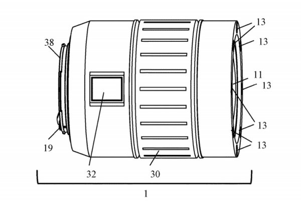
Управление США по патентам и торговым маркам (USPTO) опубликовало патентную заявку Canon на любопытную разработку в сфере фототехники.


Документ озаглавлен «Electronic apparatus having finger authenticating function» — электронный аппарат с функцией аутентификации по пальцу. Речь идёт об интеграции дактилоскопических сканеров в корпус фотокамер и объективов.


Canon выделяет несколько сценариев использования системы. Один из самых очевидных — обеспечение безопасности. Как и в случае со смартфонами, дактилоскопический сенсор будет служить для проверки личности пользователя и снятия блокировки с фотоаппарата или объектива. Таким образом, можно будет предотвратить несанкционированное использование фототехники.


Кроме того, датчик отпечатков пальцев сможет выполнять функции программируемой кнопки. Его можно будет настроить на выполнение определённых действий, которые будут активироваться в зависимости от того, каким пальцем пользователь прикоснулся к сенсору.


Наконец, третий сценарий — создание профилей нескольких пользователей. Распознав человека по отпечатку пальца, устройство автоматически загрузит соответствующий набор заранее определённых настроек.

Управление США по патентам и торговым маркам (USPTO) опубликовало патентную заявку Canon на любопытную разработку в сфере фототехники. Документ озаглавлен «Electronic apparatus having finger authenticating function» — электронный аппарат с функцией аутентификации по пальцу. Речь идёт об интеграции дактилоскопических сканеров в корпус фотокамер и объективов. Canon выделяет несколько сценариев использования системы. Один из самых очевидных — обеспечение безопасности. Как и в случае со смартфонами, дактилоскопический сенсор будет служить для проверки личности пользователя и снятия блокировки с фотоаппарата или объектива. Таким образом, можно будет предотвратить несанкционированное использование фототехники. Кроме того, датчик отпечатков пальцев сможет выполнять функции программируемой кнопки. Его можно будет настроить на выполнение определённых действий, которые будут активироваться в зависимости от того, каким пальцем пользователь прикоснулся к сенсору. Наконец, третий сценарий — создание профилей нескольких пользователей. Распознав человека по отпечатку пальца, устройство автоматически загрузит соответствующий набор заранее определённых настроек.
Цитирование статьи, картинки - фото скриншот - Rambler News Service.
Иллюстрация к статье - Яндекс. Картинки.
Есть вопросы. Напишите нам.
Общие правила  поведения на сайте.

запостил(а)
Farmer
Вернуться назад
0

Смотрите также

А что там на главной? )))



Комментарии )))